System Operation: Notes
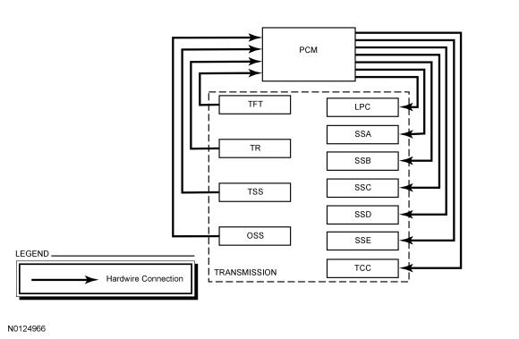
The PCM and its input/output network controls the following operations:
- Shift timing
- Line pressure (shift feel)
The transmission control strategy is separate from the engine control strategy in the PCM, although some of the input signals are shared. When determining the best operating strategy for transmission operation, the PCM uses input information from engine and driver related sensors and switches.
In addition, the PCM receives input signals from transmission related sensors and switches. The PCM uses these signals when determining transmission operating strategy.
Using all of these input signals, the PCM can determine when the time and conditions are right for a shift or when to apply or release the TCC. It also determines the best line pressure to optimize shift engagement feel. To accomplish this, the PCM uses output solenoids to control transmission operation.
Active Transmission Pursuit Mode (ATPM)
ATPM is a feature within the transmission software that enables the transmission to be more aggressive with shifting during aggressive driving (e.g. pursuit). Police vehicles have ATPM software that uses accelerator pedal, brake pedal, and steering position input to alter the shift scheduling for pursuit purposes.
The transmission software changes how the transmission shifts when it senses the vehicle is being driven aggressively and switches it back to save fuel when the aggressive driving is completed.
The software logic is made up of 2 parts:
- Brake torque-induced logic to handle downshifts under braking
- Upshift inhibit logic to hold gears around the corners; during corner exit, the transmission has not upshifted so there is no delay from the transmission downshifting out of a corner
Brake Torque Logic
- Uses brake line pressure and deceleration rates as inputs and knows if the vehicle is performing an aggressive braking maneuver.
- If a set threshold is passed, the transmission software downshifts to the next possible gear during the braking event.
- The brake pressure threshold cannot be passed during normal driving maneuvers.
Upshift Inhibit Logic
- Uses lateral acceleration (cornering) to inhibit upshifts.
- When the lateral acceleration threshold is crossed (when the vehicle turns hard enough), the vehicle holds gears and upshifts only at redline.
- Stays active for 30 seconds after pursuit driving is completed, or deactivates when there is three continuous seconds of closed throttle.