LEMON Manuals: Even more car manuals for everyone: 1960-2025
Home >> Ford >> 2017 >> Transit Connect Titanium >> Repair and Diagnosis >> Engine Performance >> System >> Engine Controls - Description & Operation (Except Diesel & Hybrid) >> Engine Control Components >> Clutch Pedal Position (CPP) Sensor
April 5, 2026: LEMON Manuals is launched! Read the announcement.

Clutch Pedal Position (CPP) Sensor

The CPP signal is converted to percent of pedal travel by the PCM. During normal operation, the CPP is used as the indication of the clutch pedal position by the PCM strategy.

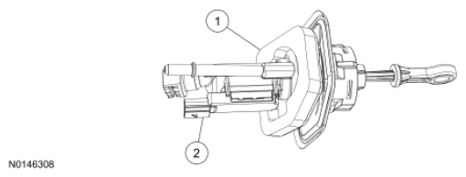
There is 1 reference voltage circuit, 1 signal return circuit, and 1 signal circuit between the PCM and the CPP sensor. The CPP sensor is typically mounted on the clutch master cylinder or pedal assembly.

Fig 1: Clutch Master Cylinder And CPP Sensor Assembly
G08291310Courtesy of FORD MOTOR CO.
Item Number Description
1 - Clutch Master Cylinder
2 - CPP Sensor Assembly