LEMON Manuals: Even more car manuals for everyone: 1960-2025
Home >> Ford >> 2017 >> Transit Connect Titanium >> Repair and Diagnosis >> Engine Performance >> System >> Engine Controls - Description & Operation (Except Diesel & Hybrid) >> Fuel Injection Systems >> Overview >> Typical Dual Fuel Injection System
April 5, 2026: LEMON Manuals is launched! Read the announcement.

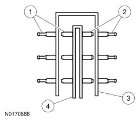
Typical Dual Fuel Injection System

Fig 1: Dual Fuel Injection System
G11848324Courtesy of FORD MOTOR CO.
Item Number Description
1 - Bank 2
2 - Bank 1
3 - Direct Fuel Injection System
4 - Port Fuel Injection System