LEMON Manuals: Even more car manuals for everyone: 1960-2025
Home >> Ford >> 2018 >> Taurus SHO >> Repair and Diagnosis >> Engine Mechanical >> Mechanical >> Engine System - General Information >> General Procedures >> Core Plug Replacement
April 5, 2026: LEMON Manuals is launched! Read the announcement.

Core Plug Replacement

For information on Ford Color Coded Illustrations, refer to OEM COLOR CODING

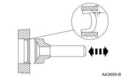
Special Tool(s)

GFD337628Courtesy of FORD MOTOR COMPANY
Slide Hammer100-001 (T50T-100-A)
Material

Item Specification
Motorcraft® Threadlock 262TA-26 WSK-M2G351-A6

All core plugs 

  1. NOTE: Cylinder block core plug shown below, cylinder head core plug similar.

    Use the Slide Hammer and a freeze plug remover to remove the core plug.

    GFD337629Courtesy of FORD MOTOR COMPANY
  2. NOTE: Oversize plugs are identified by the OS stamped in the flat located on the cup side of the plug.

    Inspect the core plug bore for any damage that would interfere with the correct sealing of the plug. If the core plug bore is damaged, bore for the next oversize plug.

    Cup-type 

  3. NOTE: Use care during this procedure so as not to disturb or distort the cup sealing surface.
    NOTE: When installed, the flanged edge must be below the chamfered edge of the bore to effectively seal the bore.

    Coat the cup-type core plug and bore lightly with sealant and install the core plug using a freeze plug installer.

    GFD337630Courtesy of FORD MOTOR COMPANY

    Expansion-type 

  4. NOTE: Do not contact the crown when installing an expansion-type core plug. This could expand the plug before seating and result in leakage.

    Coat the expansion-type core plug and bore lightly with sealant and install the core plug using a freeze plug installer.

GFD337631Courtesy of FORD MOTOR COMPANY