LEMON Manuals: Even more car manuals for everyone: 1960-2025
Home >> Ford >> 2019 >> Taurus SEL, AWD, Gas/Ethanol >> Repair and Diagnosis (Single Page) >> Transmission >> Automatic Trans >> Automatic Transmission - 6F50/6F55 (Specifications - Description & Operation) >> Description And Operation >> Electrical System >> System Operation >> Notes
April 5, 2026: LEMON Manuals is launched! Read the announcement.

System Operation: Notes

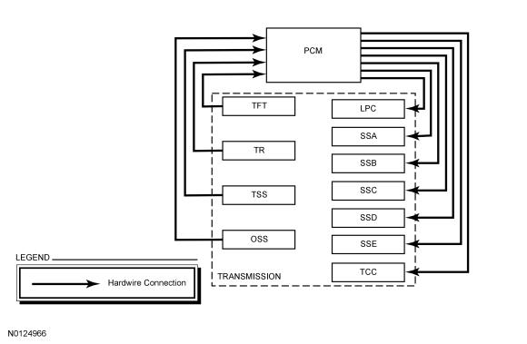
GFD340481Courtesy of FORD MOTOR COMPANY

The PCM and its input/output network controls the following operations:

The transmission control strategy is separate from the engine control strategy in the PCM, although some of the input signals are shared. When determining the best operating strategy for transmission operation, the PCM uses input information from engine and driver related sensors and switches.

In addition, the PCM receives input signals from transmission related sensors and switches. The PCM uses these signals when determining transmission operating strategy.

Using all of these input signals, the PCM can determine when the time and conditions are right for a shift or when to apply or release the TCC. It also determines the best line pressure to optimize shift engagement feel. To accomplish this, the PCM uses output solenoids to control transmission operation.