LEMON Manuals: Even more car manuals for everyone: 1960-2025
Home >> Ford >> 2023 >> Escape Base, FWD >> Repair and Diagnosis >> External Pages >> Different car >> Section 172 (Lane Keeping System) >> Description And Operation >> Lane Keeping System - System Operation and Component Description >> System Operation >> Network Message Chart >> Overview
April 5, 2026: LEMON Manuals is launched! Read the announcement.

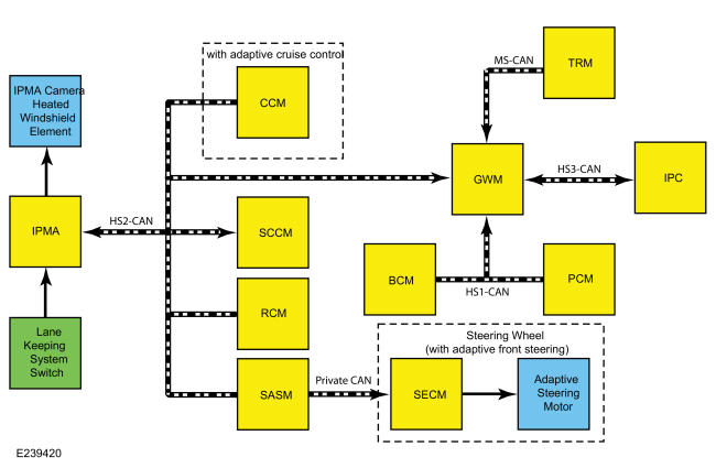
Network Message Chart: Overview

WARNING: This page is about a different car, the 2019 Ford F-550 Super Duty, 2019 Ford F-450 Super Duty, 2019 Ford F-350 Super Duty, and 2019 Ford F-250 Super Duty. However, it is still accessible from the selected car via links, so may be relevant.
GFD410375Courtesy of FORD MOTOR COMPANY