LEMON Manuals: Even more car manuals for everyone: 1960-2025
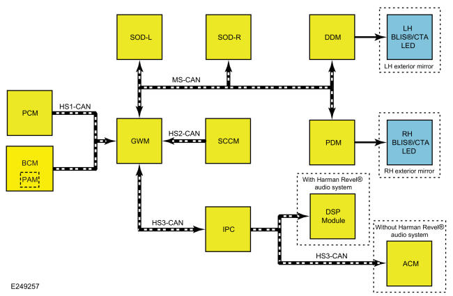
Home >> Ford >> 2023 >> Escape ST-Line Select >> Repair and Diagnosis >> External Pages >> Different car >> Section 785 (Side And Rear Vision) >> Description And Operation >> Blind Spot Information System - System Operation and Component Description >> System Operation >> BLIS® and CTA >> System Diagram
April 5, 2026: LEMON Manuals is launched! Read the announcement.

System Diagram

WARNING: This page is about a different car, the 2022 Lincoln Nautilus. However, it is still accessible from the selected car via links, so may be relevant.
GFD621720Courtesy of FORD MOTOR COMPANY