LEMON Manuals: Even more car manuals for everyone: 1960-2025
Home >> Freightliner >> 2004 >> Sprinter 2500 L5-2.7L DSL Turbo >> Repair and Diagnosis >> Diagrams >> Electrical Diagrams >> Transmission Control Systems >> System Schematics
April 5, 2026: LEMON Manuals is launched! Read the announcement.

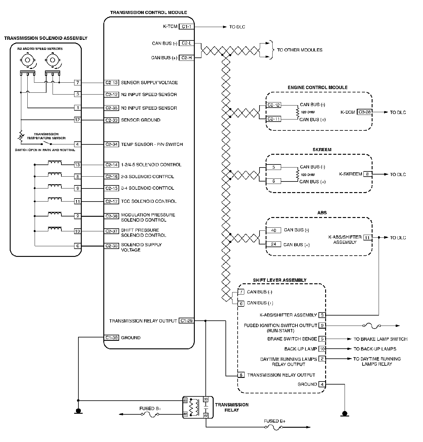
System Schematics

SCHEMATIC DIAGRAMS