LEMON Manuals: Even more car manuals for everyone: 1960-2025
Home >> Freightliner >> 2007 >> Sprinter 2500 V6-3.0L DSL Turbo >> Repair and Diagnosis >> Powertrain Management >> Computers and Control Systems >> Transmission Position Sensor/Switch >> Description and Operation >> Description >> Transmission Temperature Sensor
April 5, 2026: LEMON Manuals is launched! Read the announcement.

Transmission Temperature Sensor






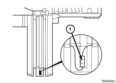
TRANSMISSION TEMPERATURE SENSOR





The transmission oil temperature sensor (1) is located in the shell of the electric valve control unit and is fixed to the conductor tracks.


Its purpose is to measure the temperature of the transmission oil and pass the temperature to the TCM as an input signal. It is a temperature-dependent resistor (PTC).