LEMON Manuals: Even more car manuals for everyone: 1960-2025
Home >> Honda >> 1991 >> Civic Base, 2D Hatchback >> Repair and Diagnosis (Single Page) >> Electrical >> Charging Systems >> Alternator - MITSUBISHI >> Bench Testing >> Diode Assembly
April 5, 2026: LEMON Manuals is launched! Read the announcement.

Diode Assembly

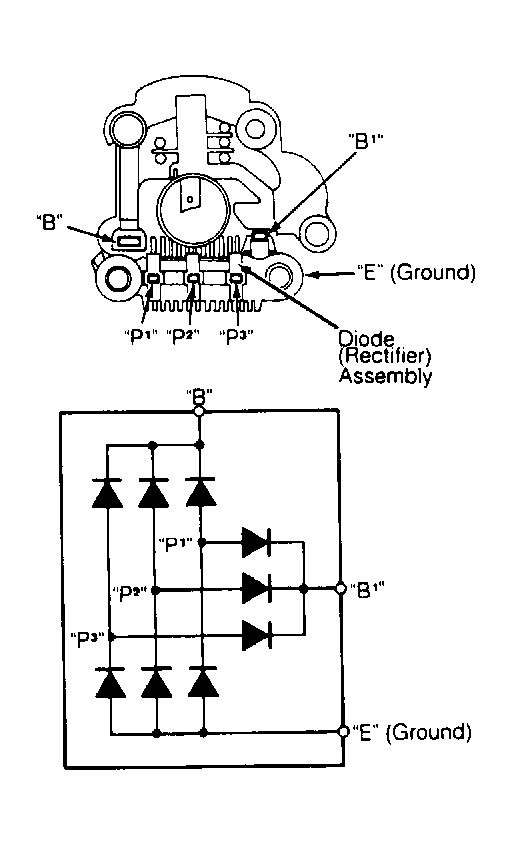
  1. Remove diode (rectifier) from alternator. Check continuity in both directions by reversing test probes between terminal "B" and terminals P(1), P(2) and P(3). See Fig 1. Check continuity in both directions between terminal "E" (ground) and terminals P(1), P(2) and P(3). Check continuity in both directions between terminal B(1) and terminals P(1), P(2) and P(3).
    Fig 1: Testing Diode (Rectifier) Assembly
    G90A04041Courtesy of AMERICAN HONDA MOTOR CO., INC.
  2. All diodes should show a low continuity reading in one direction and no continuity in opposite direction. If any diode does not test as specified, replace entire diode (rectifier) assembly. Diodes are not available separately.