LEMON Manuals: Even more car manuals for everyone: 1960-2025
Home >> Honda >> 1991 >> Civic Base, 2D Hatchback >> Repair and Diagnosis >> Engine Performance >> System >> Engine Controls - System/Component Tests >> Relays & Solenoids >> Fuel Pump Main Relay
April 5, 2026: LEMON Manuals is launched! Read the announcement.

Fuel Pump Main Relay

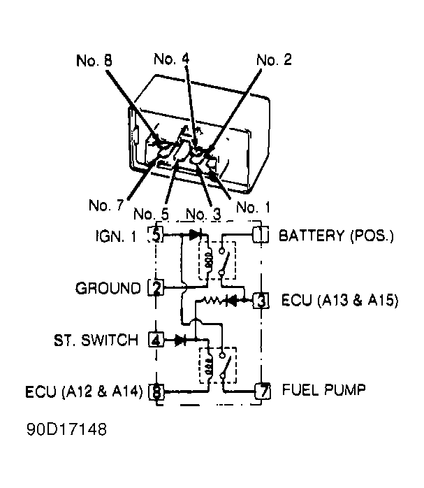
  1. Remove main relay, located near under-dash fuse box. Using jumper wires, connect battery voltage to terminal No. 4 and ground terminal No. 8 of main relay. See Fig 1 .
    Fig 1: Identifying Fuel Pump Main Relay Terminal
    G90D17148Courtesy of AMERICAN HONDA MOTOR CO., INC.
  2. Using an ohmmeter, check continuity between main relay terminals No. 5 and No. 7. If continuity exists, go to step 3). If continuity does not exist, replace main relay.
  3. Connect battery voltage to main relay terminal No. 5 and ground terminal No. 2. Check continuity between terminals No. 1 and No. 3 of main relay. If continuity exists, go to next step. If continuity does not exist, replace main relay.
  4. Connect battery voltage to main relay terminal No. 3 and ground terminal No. 8. Check continuity between terminals No. 5 and No. 7 of fuel pump main relay. If no continuity exists, replace main relay. If continuity exists, main relay is okay. If fuel pump still fails to operate, test main relay harness. See FUEL PUMP MAIN RELAY HARNESS  under FUEL SYSTEM.