LEMON Manuals: Even more car manuals for everyone: 1960-2025
Home >> Honda >> 1992 >> Prelude S, Standard >> Repair and Diagnosis >> Engine Performance >> System >> Engine Controls - Tests W/Codes >> Trouble Code Charts >> Code 23 - Knock Sensor Circuit
April 5, 2026: LEMON Manuals is launched! Read the announcement.

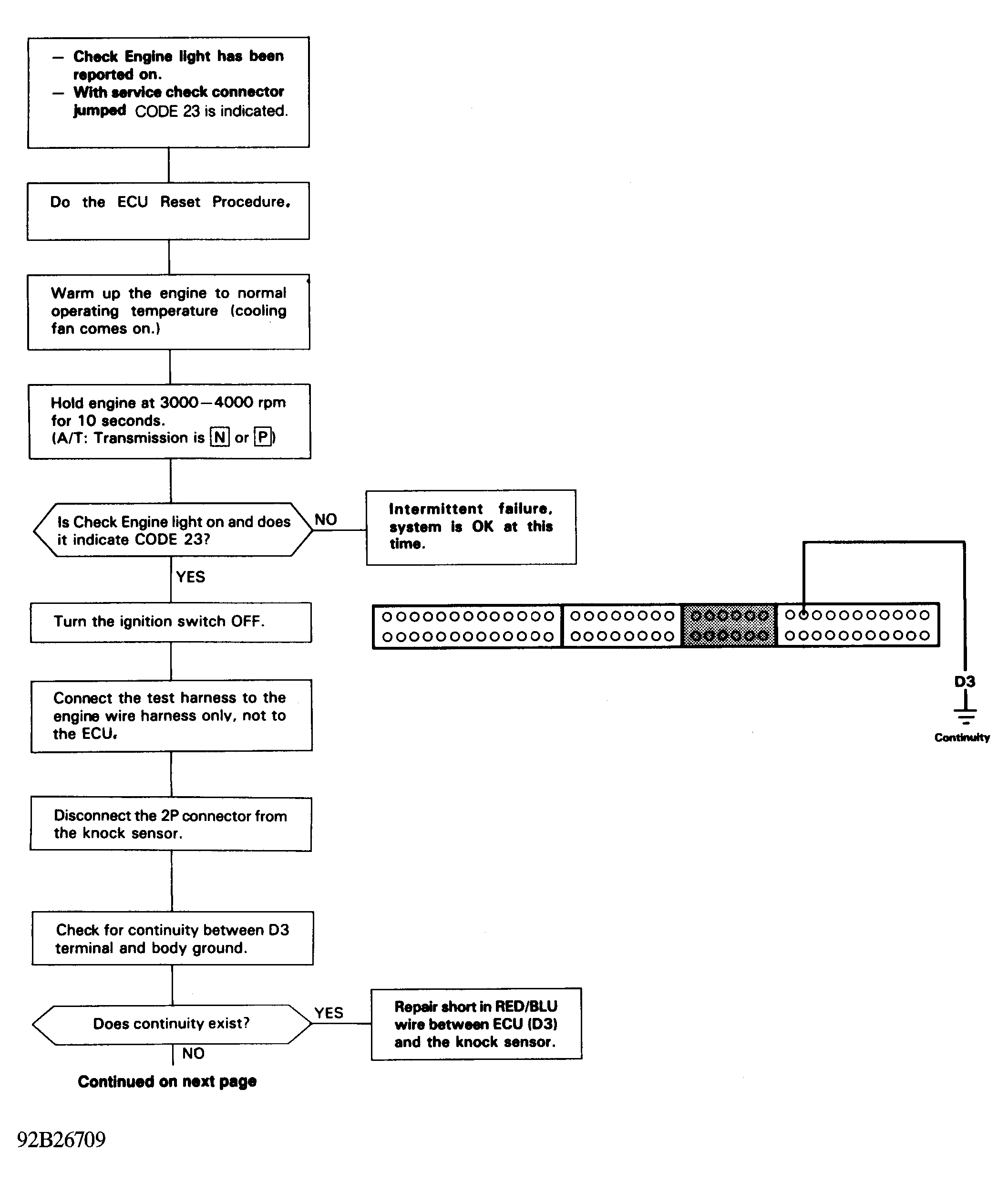
Code 23 - Knock Sensor Circuit

Fig 1: Code 23 Chart (1 Of 2) - Knock Sensor Circuit
G92B26709
Fig 2: Code 23 Chart (2 Of 2) - Knock Sensor Circuit
G92E26710