LEMON Manuals: Even more car manuals for everyone: 1960-2025
Home >> Honda >> 1993 >> Prelude L4-2.2L SOHC >> Repair and Diagnosis >> Powertrain Management >> Computers and Control Systems >> Relays and Modules - Computers and Control Systems >> Main Relay (Computer/Fuel System) >> Testing and Inspection >> Component Tests and General Diagnostics
April 5, 2026: LEMON Manuals is launched! Read the announcement.

Component Tests and General Diagnostics

NOTE: If the car starts and continues to run, the PGM-FI main relay is OK.

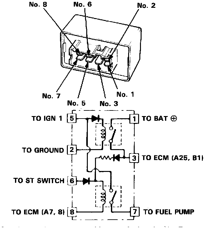
1. Remove the PGM-FI main relay.

PGM-FI Main Relay Test:




2. Attach the battery positive terminal to the No. 6 terminal and the battery negative terminal to the No. 8 terminal of the PGM-FI main relay. Then check for continuity between the No. 5 terminal and No. 7 terminal of the PGM-FI main relay.
^ If there is continuity, go on to step 3.
^ If there is no continuity, replace the relay and retest.

3. Attach the battery positive terminal to the No. 5 terminal and the battery negative terminal to the No. 2 terminal of the PGM-FI main relay. Then check that there is continuity between the No. 1 terminal and No. 3 terminal of the PGM-FI main relay.
^ If there is continuity, go on to step 4.
^ If there is no continuity, replace the relay and retest.

4. Attach the battery positive terminal to the No. 3 terminal and the battery negative terminal to the No. 8 terminal of the PGM-FI main relay. Then check that there is continuity between the No. 5 terminal and No. 7 terminal of the PGM-FI main relay.
^ If there is continuity, the relay is OK.
^ If there is no continuity, replace the relay and retest.