LEMON Manuals: Even more car manuals for everyone: 1960-2025
Home >> Honda >> 1993 >> Prelude VTEC >> Repair and Diagnosis (Single Page) >> Accessories & Equipment >> Communication Devices >> Integrated Control Unit >> Component Tests >> Chime Module
April 5, 2026: LEMON Manuals is launched! Read the announcement.

Chime Module

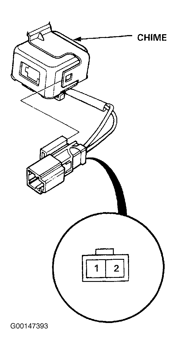
NOTE: Chime module is located behind driver's side of instrument panel. See Figure .
  1. Remove the dashboard lower cover and knee bolster. Disconnect the chime module 2-P connector from the main wire harness. See Fig 1 .
  2. Test chime operation by connecting battery positive to the No. 1 terminal, and negative to the No. 2 terminal, and cycling the power on-off repeatedly.
  3. If the chime fails to sound every time power is cycled, replace it.
Fig 1: Identifying Chime Module 2-P Connector
G00147393Courtesy of AMERICAN HONDA MOTOR CO., INC.