LEMON Manuals: Even more car manuals for everyone: 1960-2025
Home >> Honda >> 1993 >> Prelude VTEC >> Repair and Diagnosis >> Engine Performance >> System >> Engine Controls - Tests W/Codes >> Diagnostic Trouble Code Charts >> Code/No Code No Start Trouble Shooting
April 5, 2026: LEMON Manuals is launched! Read the announcement.

Code/No Code No Start Trouble Shooting

Fig 1: Flowchart, No Start Trouble Shooting (1 of 5)
G93F78993Courtesy of AMERICAN HONDA MOTOR CO., INC.
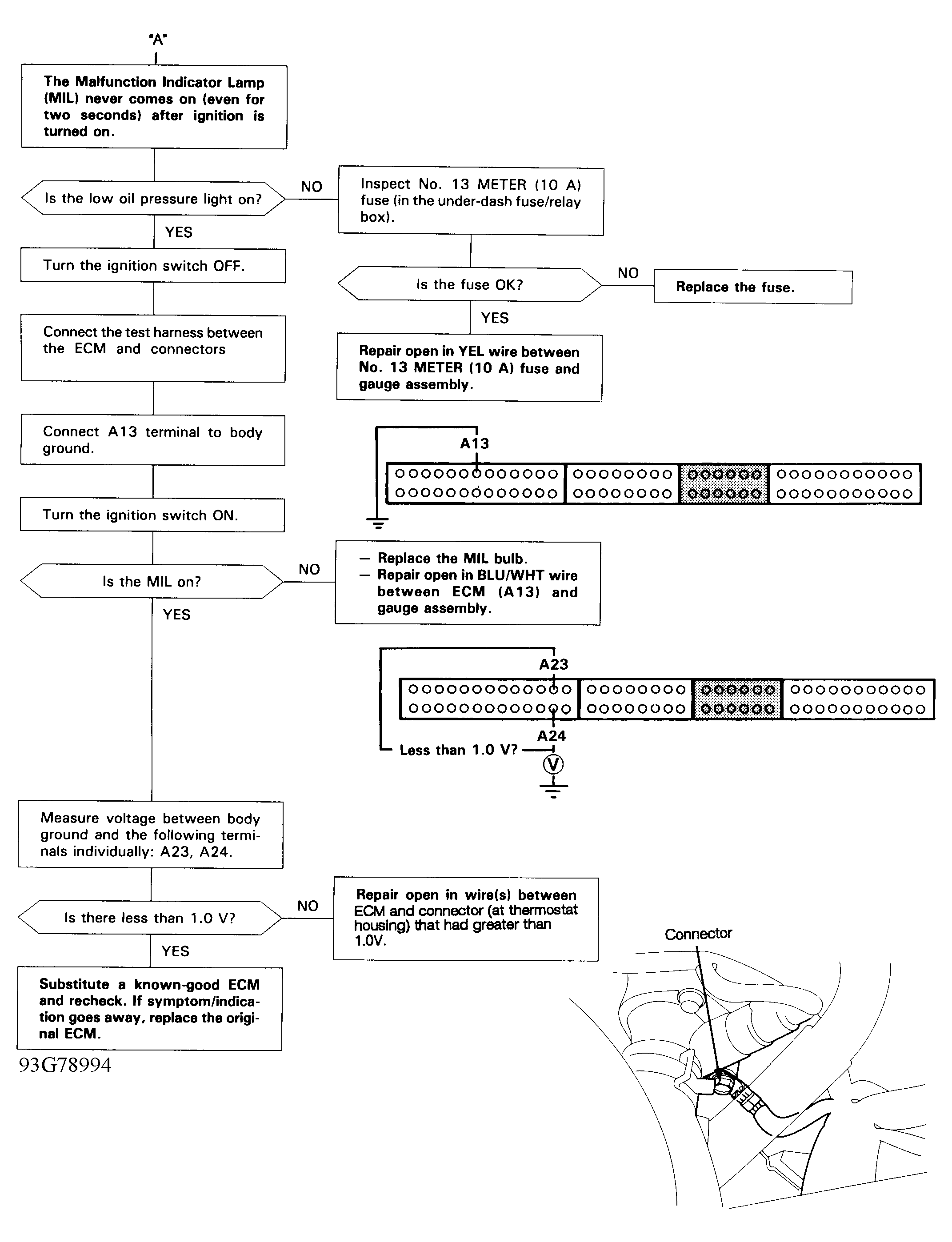
Fig 2: Flowchart, No Start Trouble Shooting (2 of 5)
G93G78994Courtesy of AMERICAN HONDA MOTOR CO., INC.
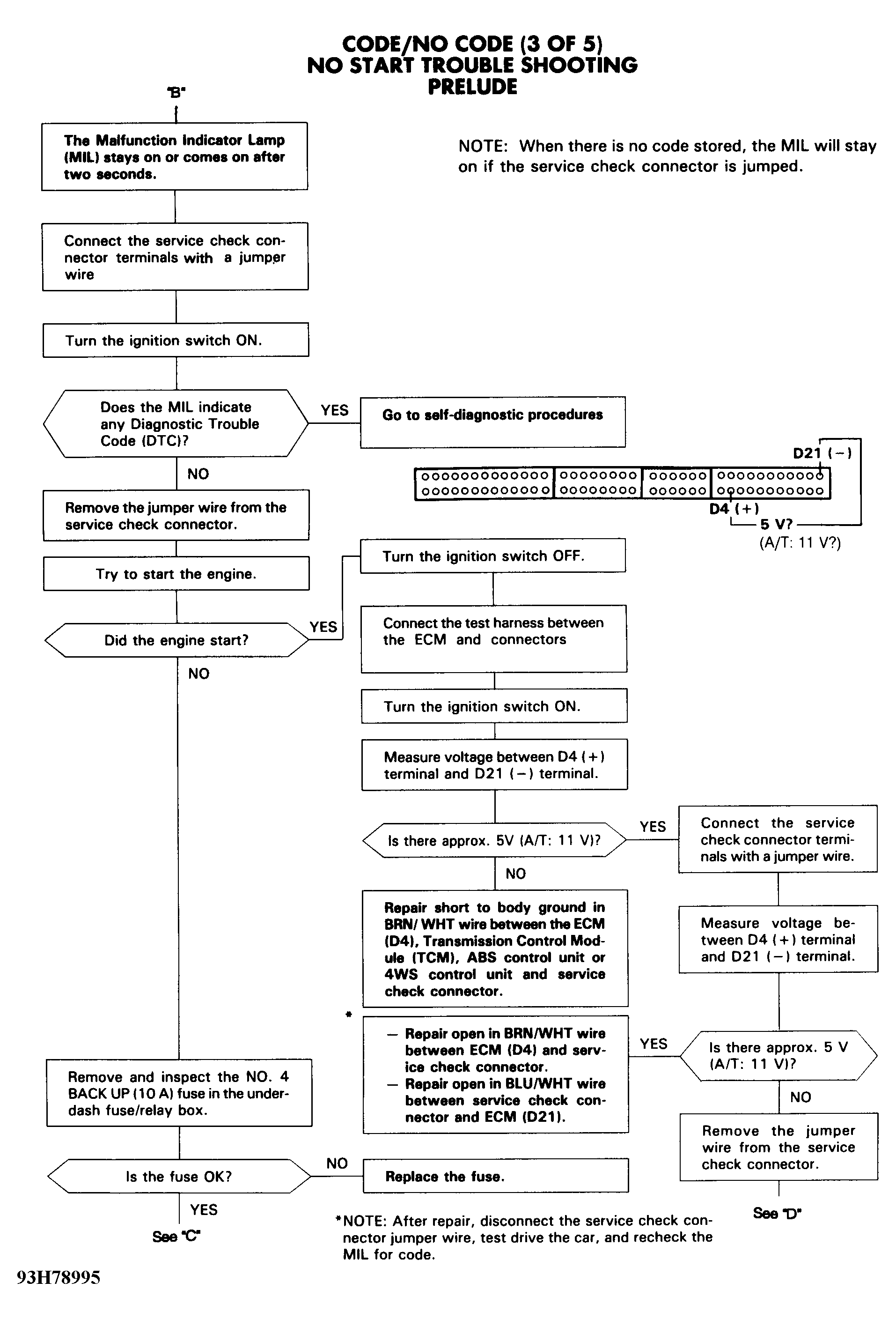
Fig 3: Flowchart, No Start Trouble Shooting (3 of 5)
G93H78995Courtesy of AMERICAN HONDA MOTOR CO., INC.
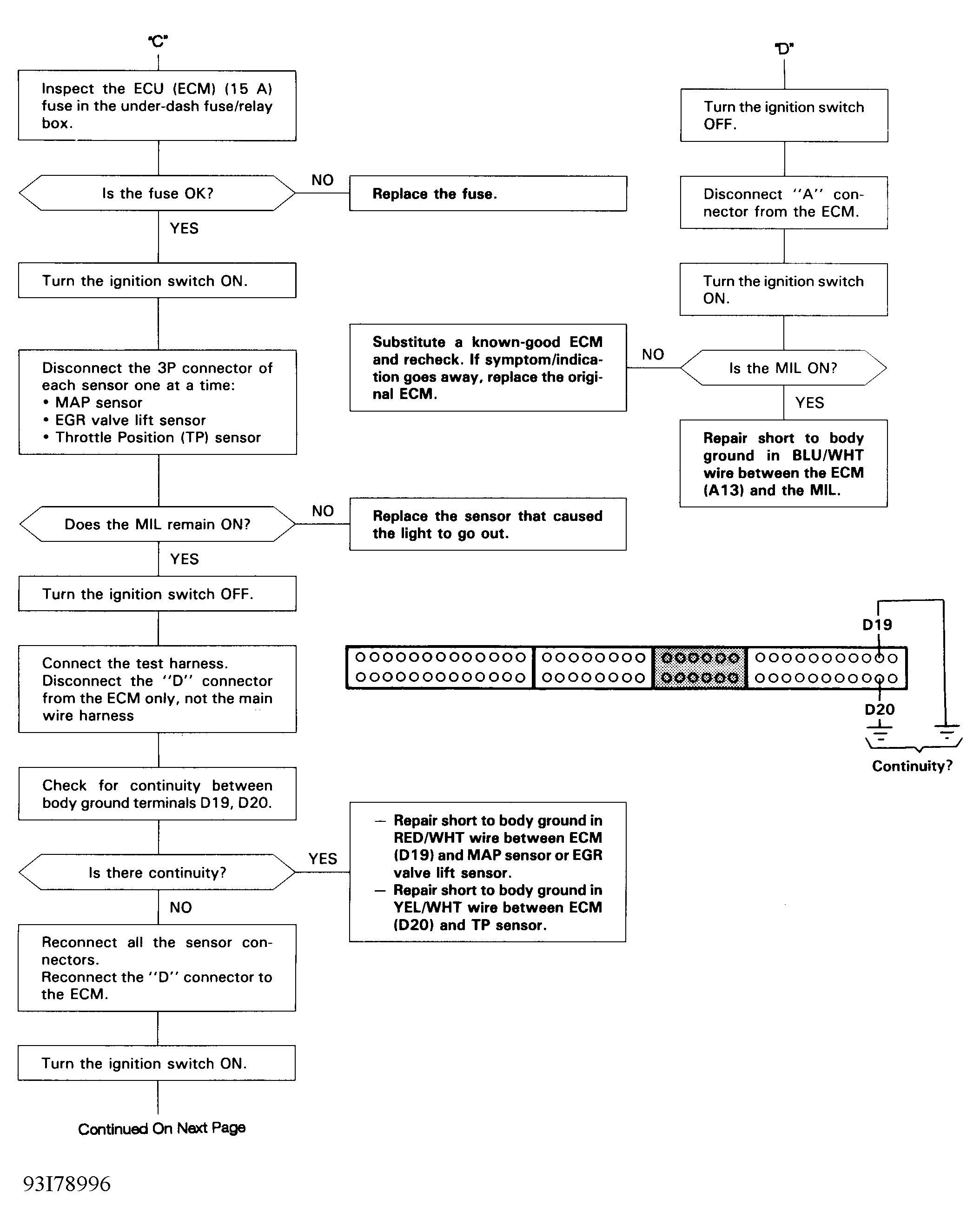
Fig 4: Flowchart, No Start Trouble Shooting (4 of 5)
G93I78996Courtesy of AMERICAN HONDA MOTOR CO., INC.
Fig 5: Flowchart, No Start Trouble Shooting (5 of 5)
G93J78997Courtesy of AMERICAN HONDA MOTOR CO., INC.