LEMON Manuals: Even more car manuals for everyone: 1960-2025
Home >> Honda >> 1993 >> Prelude VTEC >> Repair and Diagnosis >> External Pages >> Different car >> Section 17 (Wiper/Washer System) >> Testing >> Intermittent Wiper Relay Test
April 5, 2026: LEMON Manuals is launched! Read the announcement.

Intermittent Wiper Relay Test

WARNING: This page is about a different car, the 1994 Honda Prelude. However, it is still accessible from the selected car via links, so may be relevant.

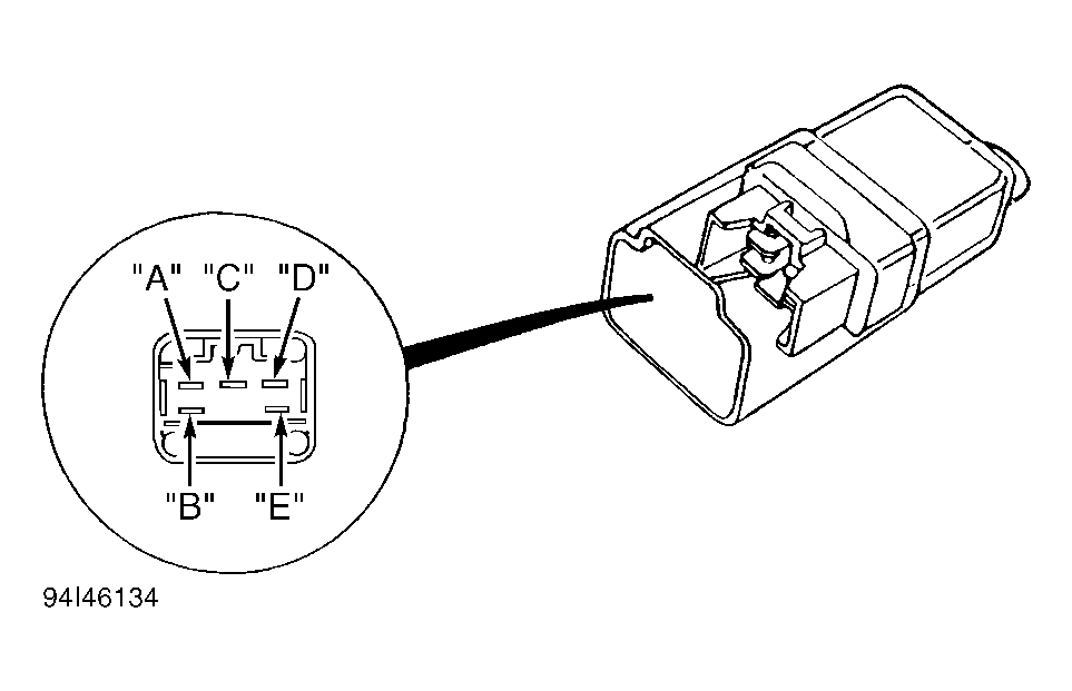
Remove intermittent wiper relay. Relay is located on right rear corner of engine compartment, next to fuse/relay block. With battery voltage applied across terminals "D" and "E", continuity should exist between terminals "A" and "C". See Fig 1 . With battery disconnected, continuity should exist between terminals "B" and "C". If continuity does not exist as indicated, replace relay.

Fig 1: Intermittent Wiper Relay Terminal ID (Prelude)
G94I46134Courtesy of AMERICAN HONDA MOTOR CO., INC.