LEMON Manuals: Even more car manuals for everyone: 1960-2025
Home >> Honda >> 1994 >> Accord L4-2.2L SOHC VTEC >> Repair and Diagnosis >> Powertrain Management >> Computers and Control Systems >> Testing and Inspection >> Component Tests and General Diagnostics >> A/T Shift Position Switch Signal
April 5, 2026: LEMON Manuals is launched! Read the announcement.

A/T Shift Position Switch Signal

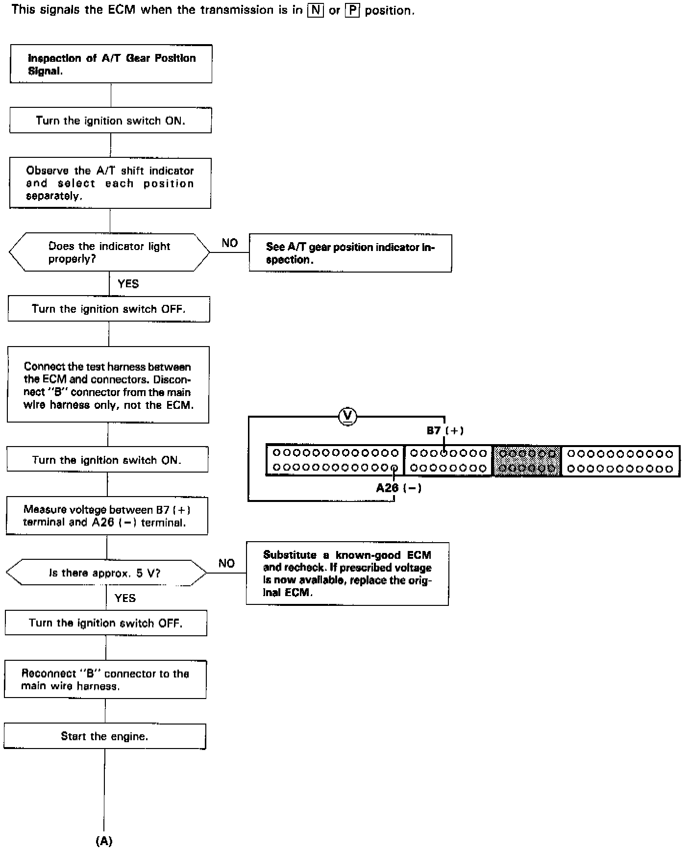
Automatic Transaxle (A/T) Gear Position Signal (Part 1 Of 2):




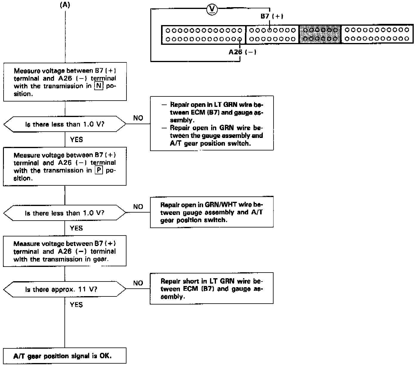
Automatic Transaxle (A/T) Gear Position Signal (Part 2 Of 2):





A/T Shift Position Switch Signal