LEMON Manuals: Even more car manuals for everyone: 1960-2025
Home >> Honda >> 1994 >> Accord L4-2.2L SOHC VTEC >> Repair and Diagnosis >> Relays and Modules >> Relays and Modules - Powertrain Management >> Relays and Modules - Computers and Control Systems >> Main Relay (Computer/Fuel System) >> Testing and Inspection >> Component Tests and General Diagnostics
April 5, 2026: LEMON Manuals is launched! Read the announcement.

Component Tests and General Diagnostics

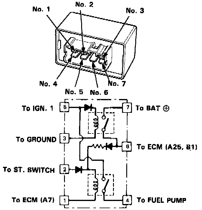
PGM-FI Mail Relay Inspection:




NOTE: If the car starts and continues to run, the PGM-FI main relay is OK.

1. Remove the PGM-FI main relay.
2. Attach the battery positive terminal to the No. 2 terminal and the battery negative terminal to the No. 1 terminal of the PGM-FI main relay. Then check for continuity between the No. 5 terminal and No. 4 terminal of the PGM-FI main relay.
^ If there is continuity, go on to step 3.
^ If there is no continuity, replace the PGM-FI main relay and retest.

3. Attach the battery positive terminal to the No. 5 terminal and the battery negative terminal to the No. 3 terminal of the PGM-FI main relay. Then check that there is continuity between the No. 7 terminal and No.6 terminal of the PGM-FI main relay.
^ If there is continuity, go on to step 4.
^ If there is no continuity, replace the PGM-FI main relay and retest.

4. Attach the battery positive terminal to the No. 6 terminal and the battery negative terminal to the No. 1 terminal of the PGM-FI main relay. Then check that there is continuity between the No. 5 terminal and No. 4 terminal of the PGM-FI main relay.
^ If there is continuity, the PGM-FI main relay is OK.
^ If there is no continuity, replace the PGM-FI main relay and retest.