LEMON Manuals: Even more car manuals for everyone: 1960-2025
Home >> Honda >> 1994 >> Civic Si >> Repair and Diagnosis >> Engine Performance >> System >> Engine Controls - Tests W/Codes >> Diagnostic Trouble Code Charts >> Code/No Code - No Start Trouble Shooting
April 5, 2026: LEMON Manuals is launched! Read the announcement.

Code/No Code - No Start Trouble Shooting

Fig 1: Code/No Code Flow Chart (1 of 5) Code/No Code - No Start Trouble Shooting
G93J78666
Fig 2: Code/No Code Flow Chart (2 of 5) Code/No Code - No Start Trouble Shooting
G93A78667
Fig 3: Code/No Code Flow Chart (3 of 5) Code/No Code - No Start Trouble Shooting
G93B78668
Fig 4: Code/No Code Flow Chart (4 of 5) Code/No Code - No Start Trouble Shooting
G93C78669
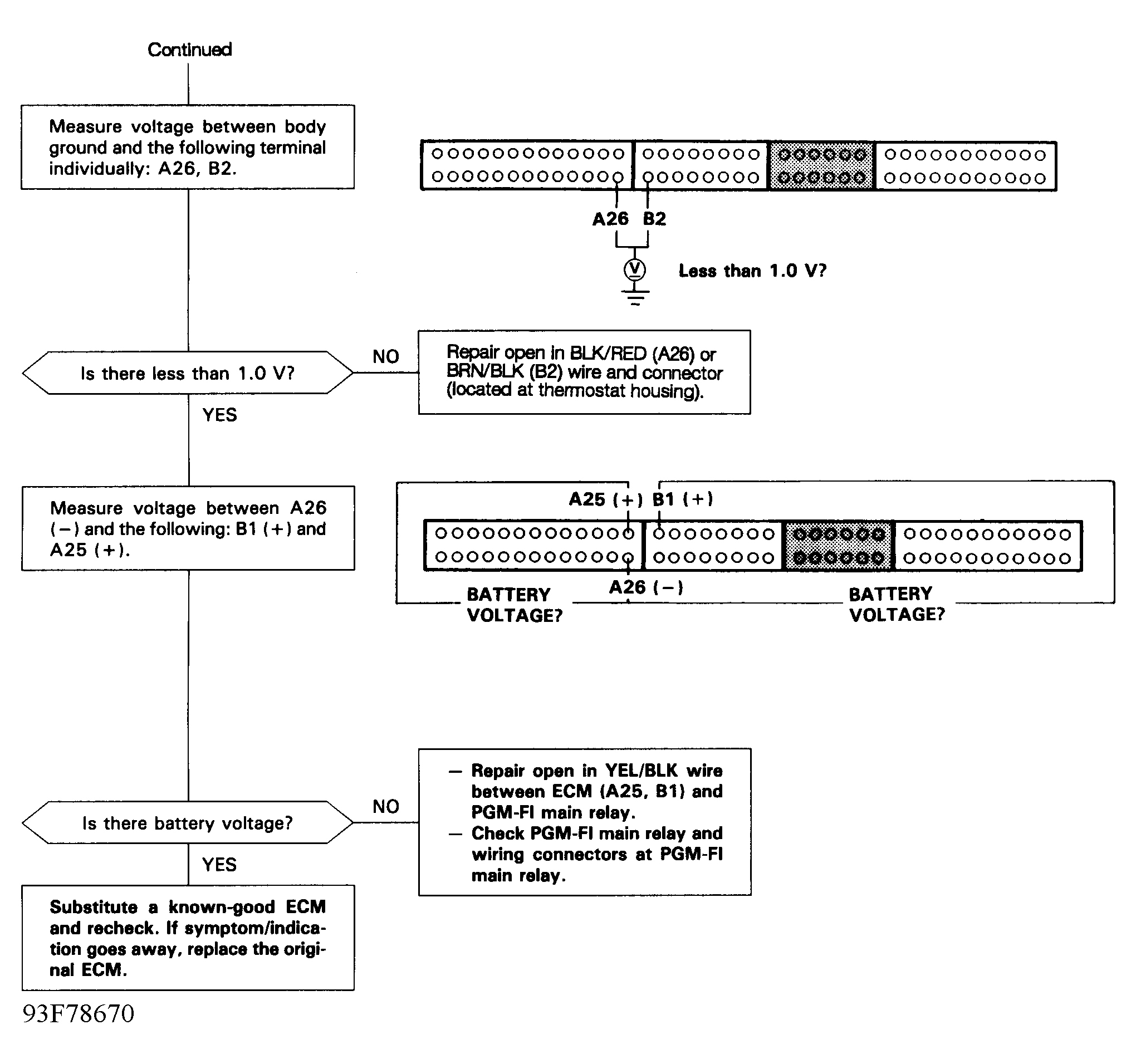
Fig 5: Code/No Code Flow Chart (5 of 5) Code/No Code - No Start Trouble Shooting
G93F78670