LEMON Manuals: Even more car manuals for everyone: 1960-2025
Home >> Honda >> 1994 >> Civic del Sol VTEC >> Repair and Diagnosis >> Engine Performance >> System >> Engine Controls - Tests W/Codes >> Diagnostic Trouble Code Charts >> Code 15 - Ignition Output Signal
April 5, 2026: LEMON Manuals is launched! Read the announcement.

Code 15 - Ignition Output Signal

Fig 1: Code 15 Flow Chart (1 of 2) Ignition Output Signal
G93H78722
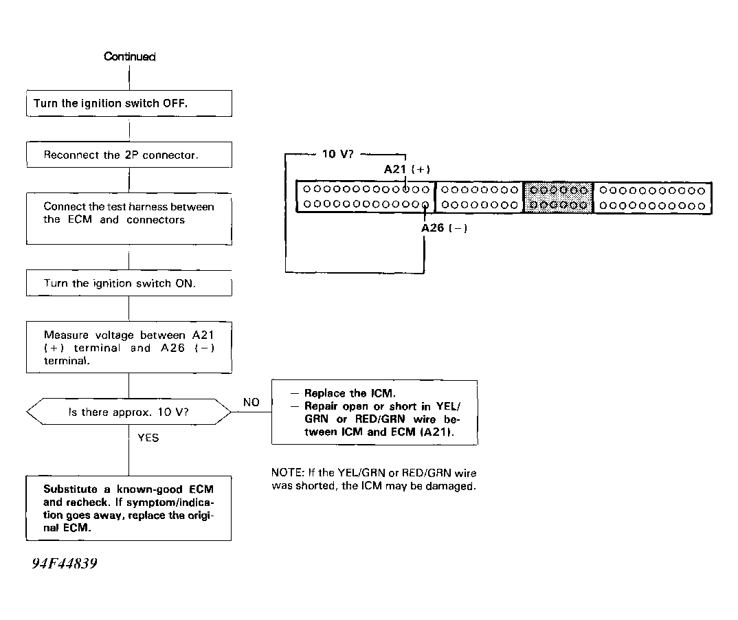
Fig 2: Code 15 Flow Chart (2 of 2) Ignition Output Signal
G94F44839