LEMON Manuals: Even more car manuals for everyone: 1960-2025
Home >> Honda >> 1995 >> Prelude L4-2.2L SOHC >> Repair and Diagnosis >> Powertrain Management >> Transmission Control Systems >> Description and Operation >> Control System
April 5, 2026: LEMON Manuals is launched! Read the announcement.

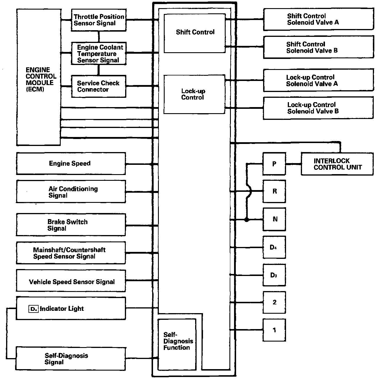
Control System





The Electronic Control System consists of the transmission control module (TCM), sensors, and four solenoid valves. shifting and lock-up are electronically controlled for comfortable driving under all conditions. the TCM is located below the dashboard, behind the right side kick panel on the passenger's side.

SHIFT CONTROL
Getting a signal from each sensor, the TCM determines the appropriate gear and activates the shift control solenoid valves A and/or B.





The combination of driving signals to shift control solenoid valves A and B is shown in the table.