LEMON Manuals: Even more car manuals for everyone: 1960-2025
Home >> Honda >> 1996 >> Passport DX >> Repair and Diagnosis (Single Page) >> Engine Performance >> System >> Engine Controls - Tests W/Codes - 2.6L 4-CYL >> Circuit Testing >> DTC P0106 - Map Sensor System Performance >> Notes
April 5, 2026: LEMON Manuals is launched! Read the announcement.

DTC P0106 - Map Sensor System Performance: Notes

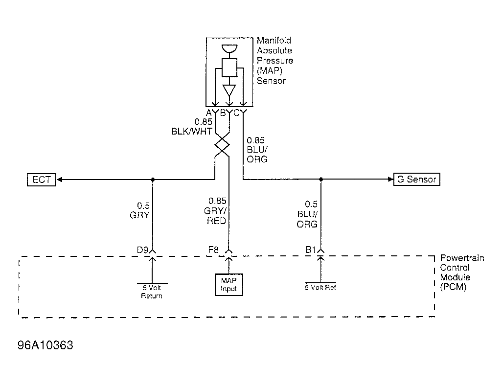
Fig 1: MAP Sensor Circuit
G96A10363Courtesy of ISUZU MOTOR CO.