LEMON Manuals: Even more car manuals for everyone: 1960-2025
Home >> Honda >> 1996 >> Passport DX >> Repair and Diagnosis (Single Page) >> Engine Performance >> System >> Engine Controls - Tests W/Codes - 2.6L 4-CYL >> Circuit Testing >> DTC P0336 - CKP Sensor Circuit 58X Reference Signal >> Notes
April 5, 2026: LEMON Manuals is launched! Read the announcement.

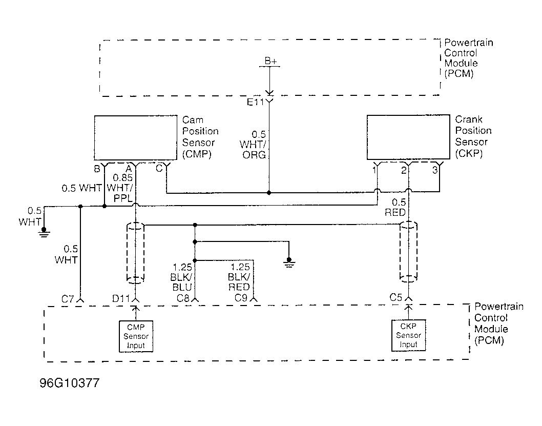
DTC P0336 - CKP Sensor Circuit 58X Reference Signal: Notes

Fig 1: CKP Sensor Circuit
G96G10377Courtesy of ISUZU MOTOR CO.