LEMON Manuals: Even more car manuals for everyone: 1960-2025
Home >> Honda >> 1996 >> Passport DX >> Repair and Diagnosis (Single Page) >> Engine Performance >> System >> Engine Controls - Tests W/Codes - 2.6L 4-CYL >> Circuit Testing >> DTC P1391 - G-Sensor Circuit Performance >> Notes
April 5, 2026: LEMON Manuals is launched! Read the announcement.

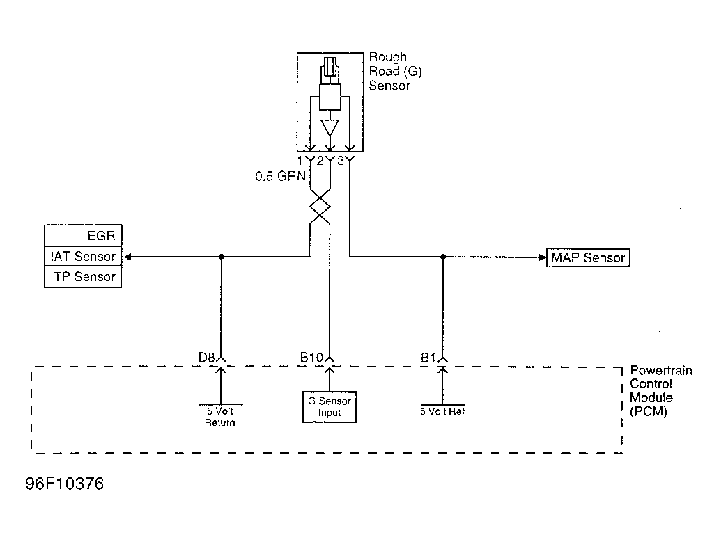
DTC P1391 - G-Sensor Circuit Performance: Notes

NOTE: For circuit reference, see Figure, Code P1390 schematic.