LEMON Manuals: Even more car manuals for everyone: 1960-2025
Home >> Honda >> 1997 >> Prelude Base, Standard >> Repair and Diagnosis (Single Page) >> Engine Mechanical >> Engine Cooling Fan >> Component Tests >> Fan Control Module Testing
April 5, 2026: LEMON Manuals is launched! Read the announcement.

Fan Control Module Testing

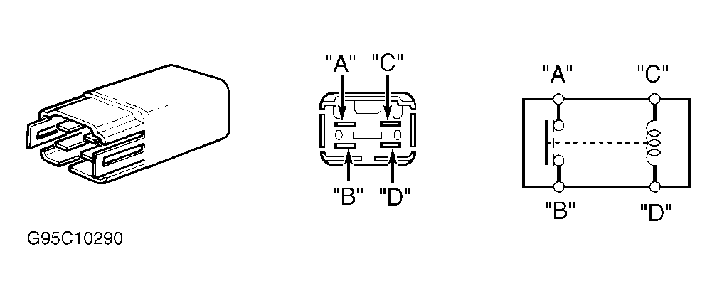
Using a DVOM, backprobe at appropriate terminal of fan control module harness connector and check for appropriate output. See Fig 1 or Figure .

Fig 1: Testing Fan Control Module (Accord & Odyssey)
G94D46675Courtesy of AMERICAN HONDA MOTOR CO., INC.