LEMON Manuals: Even more car manuals for everyone: 1960-2025
Home >> Honda >> 2000 >> Insight >> Repair and Diagnosis >> Engine Mechanical >> Mechanical >> Engine Block >> Block and Piston Inspection
April 5, 2026: LEMON Manuals is launched! Read the announcement.

Block and Piston Inspection

  1. Remove the piston from the engine block (see CRANKSHAFT AND PISTON REMOVAL  ).
  2. Check the piston for distortion or cracks.
  3. Measure the piston diameter at a point 11 mm (0.4 in.) from the bottom of the skirt.

    Piston Diameter 

    Standard (New): 71.977-71.995 mm (2.8337-2.8344 in.) 

    Service Limit: 71.97 mm (2.833 in.) 

    Oversize Piston Diameter 

    0.25: 72.227-72.245 mm (2.8436-2.8443 in.) 

    Fig 1: Measuring Piston Diameter
    G03680506Courtesy of AMERICAN HONDA MOTOR CO., INC.
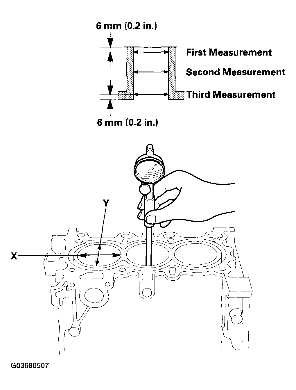
  4. Measure wear and taper in direction X and Y at three levels in each cylinder as shown. If measurements in any cylinder are beyond the oversize bore service limit, replace the engine block. If the engine block is to be rebored, refer to step  6 after reboring.

    Cylinder Bore Size 

    Standard (New): 72.000-72.020 mm (2.8346-2.8354 in.) 

    Service Limit: 72.07 mm (2.837 in.) 

    Oversize 

    0.25: 72.250-72.270 mm (2.8445-2.8453 in.) 

    Reboring Limit: 0.25 mm (0.010 in.) max. 

    Bore Taper 

    Limit: (Difference between first and third measurement) 0.05 mm (0.002 in.) 

    Fig 2: Measuring Cylinder Bore Size
    G03680507Courtesy of AMERICAN HONDA MOTOR CO., INC.
  5. Scored or scratched cylinder bores must be honed.
  6. Check the top of the engine block for warpage. Measure along the edges and across the center as shown.

    Engine Block Warpage 

    Standard (New): 0.07 mm (0.003 in.) max. 

    Service Limit: 0.10 mm (0.004 in.) 

    Fig 3: Checking Engine Block For Warpage
    G03680508Courtesy of AMERICAN HONDA MOTOR CO., INC.
  7. Calculate the difference between the cylinder bore diameter and the piston diameter. If the clearance is near or exceeds the service limit, inspect the piston and engine block for excessive wear.

    Piston-to-Cylinder Bore Clearance 

    Standard (New): 0.005-0.043 mm (0.0002-0.0017 in.) 

    Service Limit: 0.05 mm (0.002 in.) 

    Fig 4: Identifying Piston-To-Cylinder Bore Clearance
    G03680509Courtesy of AMERICAN HONDA MOTOR CO., INC.