LEMON Manuals: Even more car manuals for everyone: 1960-2025
Home >> Honda >> 2000 >> Insight >> Repair and Diagnosis >> Engine Mechanical >> Mechanical >> Engine Block >> Crankshaft Installation
April 5, 2026: LEMON Manuals is launched! Read the announcement.

Crankshaft Installation

Special Tools Required 

  1. Check the connecting rod bearing clearance with plastigage (see CONNECTING ROD BEARING REPLACEMENT  ).
  2. Check the main bearing clearance with plastigage (see CRANKSHAFT MAIN BEARING REPLACEMENT  ).
  3. Install the bearing halves in the engine block and connecting rods.
  4. Apply new engine oil to the main bearings and rod bearings.
  5. Hold the crankshaft so rod journal No. 1 is straight up, and lower the crankshaft into the engine block.
  6. Install the thrust washers (A) on both edges of the No. 3 main bearing recess.
    Fig 1: Installing Thrust Washers
    G03680532Courtesy of AMERICAN HONDA MOTOR CO., INC.
  7. Inspect the connecting rod bolts (see INSPECT THE CONNECTING ROD BOLTS  ).
  8. Apply new engine oil to the threads of the connecting rod bolts.
  9. Seat the rod journal into connecting rod No. 1. Install the connecting rod cap and bolts finger-tight. Install the cap so the bearing recess is on the same side as the recess in the rod.
  10. Rotate the crankshaft clockwise, and seat the journal into connecting rod No. 2. Install the connecting rod cap and bolts finger-tight.
  11. Rotate the crankshaft clockwise, and seat the journal into connecting rod No. 3. Install the connecting rod cap and bolts finger-tight.
  12. Tighten the connecting rod bolts to 9.8 N.m (1.0 kgf.m, 7.2 lbf.ft).
  13. Tighten the connecting rod bolts an additional 90°.
    NOTE: Remove the connecting rod bolt if you tightened it beyond the specified angle, and go back to step  7 of the procedure. Do not loosen it back to the specified angle.
    Fig 2: Identifying Connecting Rod Bolt Angle
    G03680533Courtesy of AMERICAN HONDA MOTOR CO., INC.
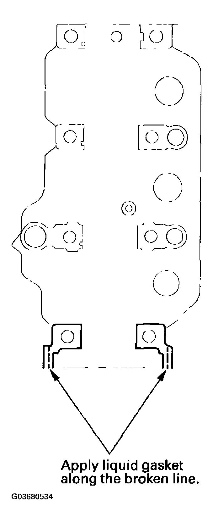
  14. Apply liquid gasket, P/N 08717-0004 or 08718-0001, along the broken line.
    NOTE: Do not install the parts if 5 minutes or more have elapsed since applying liquid gasket. Instead, reapply liquid gasket after removing the old residue.
    Fig 3: Applying Liquid Gasket
    G03680534Courtesy of AMERICAN HONDA MOTOR CO., INC.
  15. Put the main bearing cap on the engine block.
  16. Apply new engine oil to the threads of the bearing cap bolts.
  17. Tighten the bearing cap bolts in sequence to 25 N.m (2.5 kgf.m, 18 lbf.ft). Verify that all the bolts are torqued properly.
    Fig 4: Tightening Bearing Cap Bolts In Sequence
    G03680535Courtesy of AMERICAN HONDA MOTOR CO., INC.
  18. Tighten the bearing cap bolts an additional 60°.
    Fig 5: Identifying Bearing Cap Bolts Angle
    G03680536Courtesy of AMERICAN HONDA MOTOR CO., INC.
  19. Use the special tools to install a new oil seal. Drive the seal in until the special tool bottoms on the engine block.
    Fig 6: Installing Oil Seal With Special Tools
    G03680537Courtesy of AMERICAN HONDA MOTOR CO., INC.
  20. Install the cam chain (see CAM CHAIN INSTALLATION ).
  21. Install the cylinder head (see CAMSHAFT AND ROCKER ARM INSTALLATION ).
  22. Install the transmission:
  23. Install the engine assembly (see ENGINE INSTALLATION ).
    NOTE: Whenever any crankshaft or connecting rod bearing is replaced, it is necessary after reassembly to run the engine at idling speed until it reaches normal operating temperature, then continue to run it for about 15 minutes.