LEMON Manuals: Even more car manuals for everyone: 1960-2025
Home >> Honda >> 2000 >> Insight >> Repair and Diagnosis >> Engine Mechanical >> Mechanical >> Engine Block >> Oil Pan Installation
April 5, 2026: LEMON Manuals is launched! Read the announcement.

Oil Pan Installation

  1. Clean and dry the oil pan mating surfaces.
  2. Apply liquid gasket P/N 08718-0001 to the engine block mating surface of the oil pan (see step 8 on CYLINDER HEAD ).
    NOTE: Do not install the parts if 5 minutes or more have elapsed since applying liquid gasket. Instead, reapply liquid gasket after removing the old residue.
    Fig 1: Applying Liquid Gasket To Engine Block Mating Surface Of Oil Pan
    G03680538Courtesy of AMERICAN HONDA MOTOR CO., INC.
  3. Install the new oil pan gaskets (A) and a new O-ring (B) on the oil pan, then install the oil pan (C). Tighten the transmission housing mounting bolts (D).
    Fig 2: Installing Oil Pan Gaskets And O-Ring On Oil Pan And Torque Specifications
    G03680539Courtesy of AMERICAN HONDA MOTOR CO., INC.
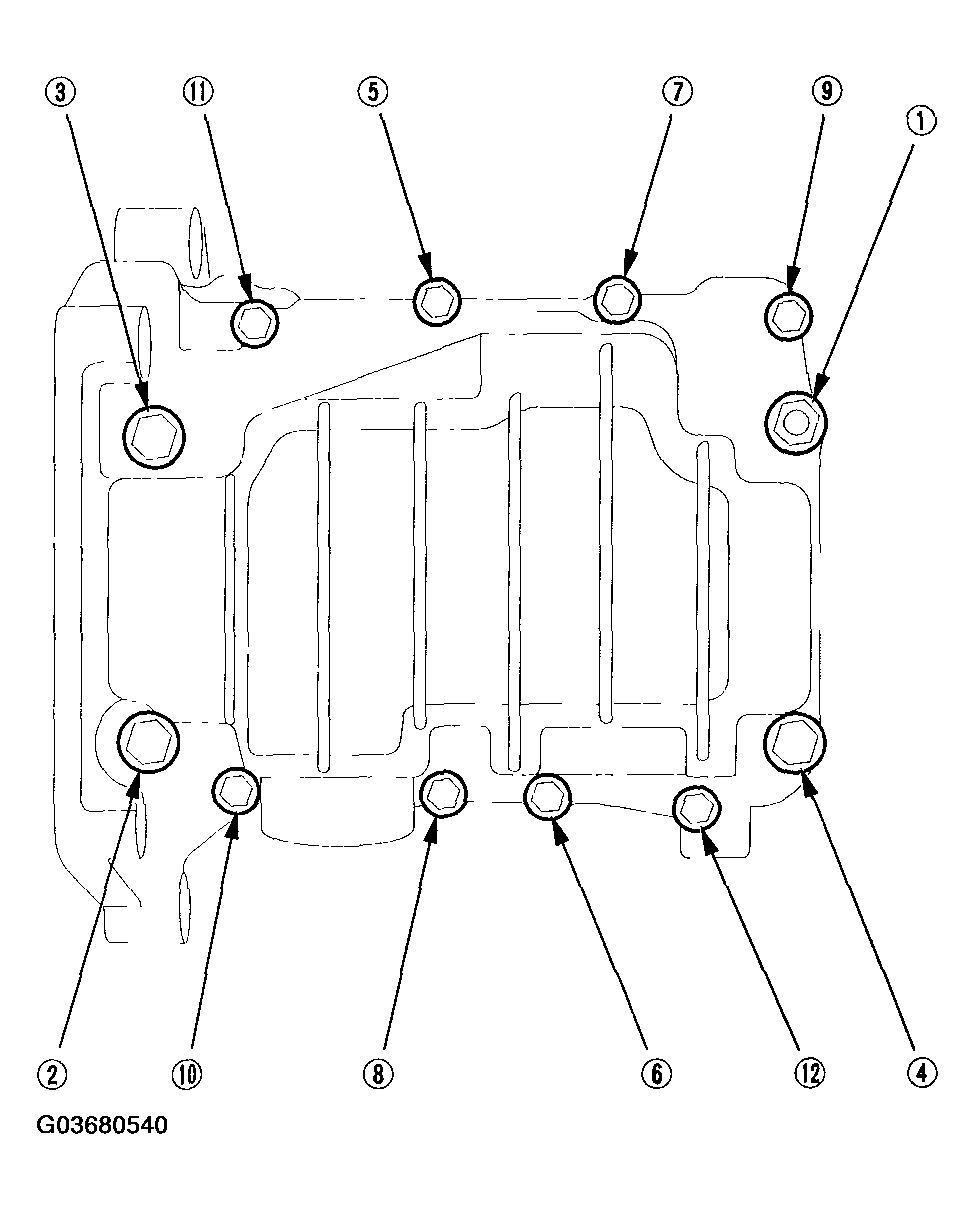
  4. Tighten the bolts and nuts to the specified torque.

    Specified Torque 

    8 x 1.25 mm: 

    22 N.m (2.2 kgf.m, 16 lbf.ft) 

    6 x 1.0 mm: 

    12 N.m (1.2 kgf.m, 8.7 lbf.ft) 

    Fig 3: Tightening Bolts And Nuts
    G03680540Courtesy of AMERICAN HONDA MOTOR CO., INC.
  5. 2000-2003 models: Install the engine oil cooler bypass hose.
  6. With A/C model: Install the A/C compressor (see step 17 on ENGINE ASSEMBLY ).
  7. With A/C model: Install and adjust the water pump-A/C compressor belt (see WATER PUMP-A/C COMPRESSOR BELT INSPECTION AND ).
  8. Refill the engine with engine oil (see ENGINE OIL REPLACEMENT ).
  9. Install the splash shields (see step 21 on ENGINE ASSEMBLY ).