LEMON Manuals: Even more car manuals for everyone: 1960-2025
Home >> Honda >> 2000 >> Insight >> Repair and Diagnosis >> Engine Performance >> System >> Fuel Supply System >> PGM-FI Main Relay Test
April 5, 2026: LEMON Manuals is launched! Read the announcement.

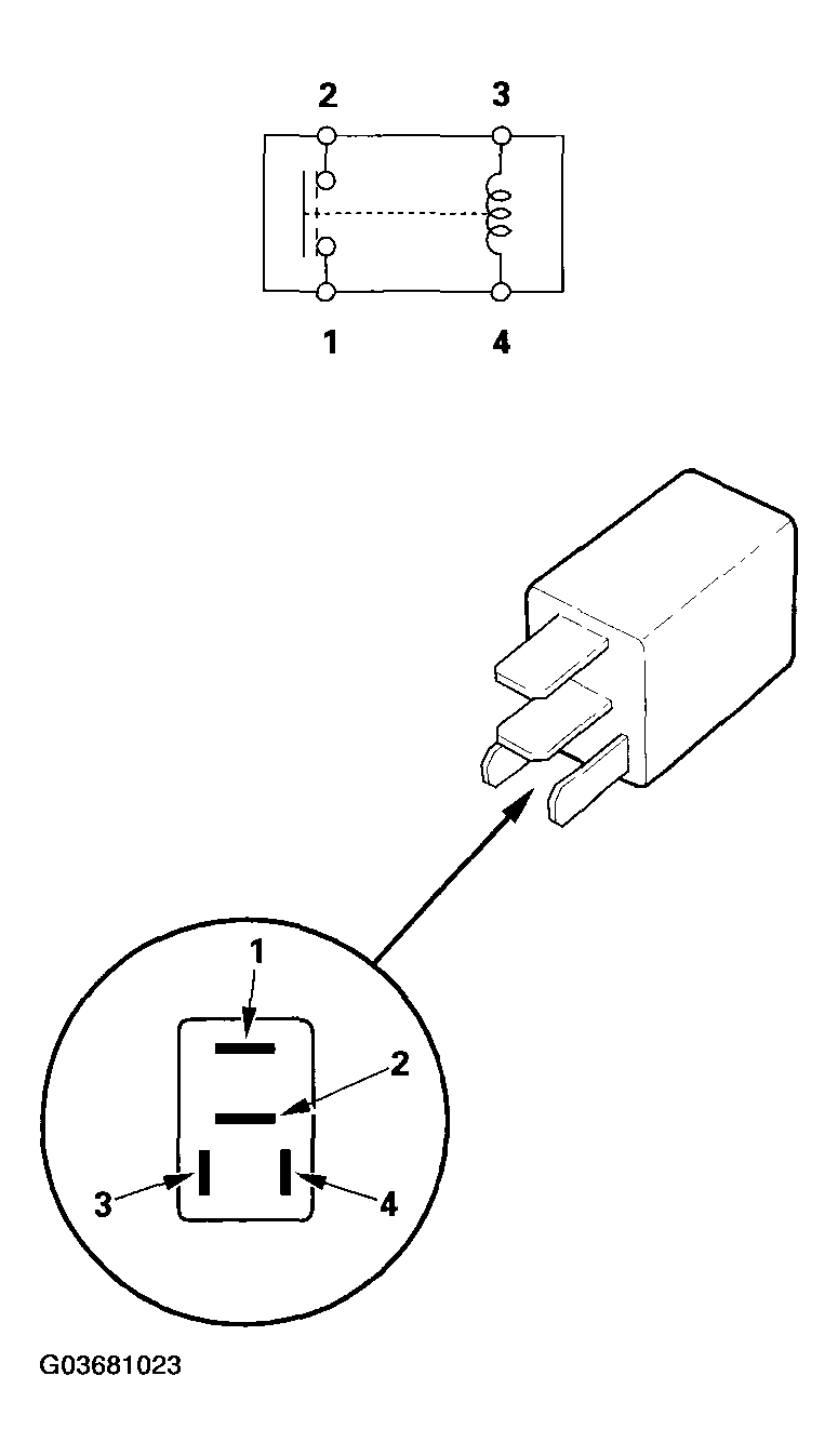
PGM-FI Main Relay Test

Check for continuity between the terminals.