LEMON Manuals: Even more car manuals for everyone: 1960-2025
Home >> Honda >> 2000 >> Insight >> Repair and Diagnosis >> Hybrid/Electric Powertrain >> Testing and Diagnosis >> IMA System >> Battery Module Removal/Installation
April 5, 2026: LEMON Manuals is launched! Read the announcement.

Battery Module Removal/Installation

Special Tools Required 

Battery Module Lift (Available for loan from AHM Special Tools) T/N 07YAK-001010A

IMA system components are located in this area. The IMA system is a high-voltage system. You must be familiar with the IMA system before working on or around it. Make sure you have read the Service Precautions before performing repairs or service (see SERVICE PRECAUTIONS ).

  1. Turn the ignition switch OFF.
  2. Remove the cargo floor mat (see TRIM REMOVAL/INSTALLATION - CARGO AREA ).
  3. Remove the battery module switch cover (A) from the IPU lid, and remove the locking cover (B).
    Fig 1: Removing Battery Module Switch Cover
    G03681482Courtesy of AMERICAN HONDA MOTOR CO., INC.
  4. Turn the battery module switch (A) OFF, then install the locking cover (B).
    Fig 2: Turning Battery Module Switch OFF
    G03681483Courtesy of AMERICAN HONDA MOTOR CO., INC.
  5. Wait for at least 5 minutes to allow the PDU capacitors to discharge.
  6. Remove the trunk right side shelf support (A).
    Fig 3: Removing Trunk Right Side Shelf Support
    G03681484Courtesy of AMERICAN HONDA MOTOR CO., INC.
  7. Remove the mid-frame cover clips and the IPU lid (A).
    Fig 4: Removing Mid-Frame Cover Clips And IPU Lid
    G03681485Courtesy of AMERICAN HONDA MOTOR CO., INC.
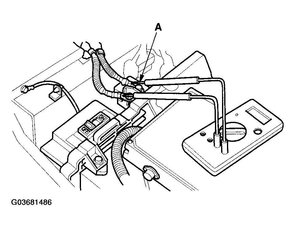
  8. Measure voltage at the junction board terminals (A). There should be 30 V or less. If more than 30 V is present, there is a problem in the circuit; do the DTC troubleshooting before continuing.
    Fig 5: Measuring Voltage At Junction Board Terminals
    G03681486Courtesy of AMERICAN HONDA MOTOR CO., INC.
  9. Remove the foam inserts.
  10. Remove the mid-frame (A), then remove the front and rear IPU braces (B) from the junction board.
    Fig 6: Removing Mid-Frame And Front And Rear IPU Braces
    G03681487Courtesy of AMERICAN HONDA MOTOR CO., INC.
  11. Disconnect the high-voltage cables (C) from the output terminals on the junction board, and wrap them with insulating tape.
  12. Remove the battery module air duct mounting bolt (A), then push the duct forward.
    Fig 7: Removing Battery Module Air Duct Mounting Bolt
    G03681488Courtesy of AMERICAN HONDA MOTOR CO., INC.
  13. Remove the mounting bolts (B) from the battery module (C). Disconnect the connectors (D) and Y condenser terminal (E).
    NOTE: After disconnection, temporarily secure the Y condenser harness on the junction board.
  14. Set the battery module lifting tool on the module (A), and install the six knurled bolts (B).
    Fig 8: Setting Battery Module Lifting Tool On Module
    G03681489Courtesy of AMERICAN HONDA MOTOR CO., INC.
  15. With the help of an assistant, lift the battery module out of the vehicle, and carefully set it down on a flat surface.
  16. Install the battery module in the reverse order of removal.