LEMON Manuals: Even more car manuals for everyone: 1960-2025
Home >> Honda >> 2000 >> Odyssey Cargo >> Repair and Diagnosis >> Body & Frame >> Windows >> Power Windows >> Passenger's Window Switch Replacement
April 5, 2026: LEMON Manuals is launched! Read the announcement.

Passenger's Window Switch Replacement

  1. Remove the screw and passenger's window switch assembly from the door panel.
    Fig 1: Removing Screw & Passenger's Window Switch
    G01558129Courtesy of AMERICAN HONDA MOTOR CO., INC.
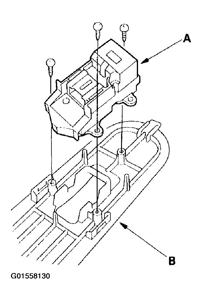
  2. Remove the three mounting screws, then remove the passenger's window switch (A) from the panel (B).
    Fig 2: Removing Passenger's Window Switch From Panel
    G01558130Courtesy of AMERICAN HONDA MOTOR CO., INC.