LEMON Manuals: Even more car manuals for everyone: 1960-2025
Home >> Honda >> 2000 >> Odyssey Cargo >> Repair and Diagnosis >> Steering >> Steering Column >> Power Steering System >> Pump Overhaul >> Reassembly
April 5, 2026: LEMON Manuals is launched! Read the announcement.

Pump Overhaul: Reassembly

  1. Clean the disassembled parts with solvent, and dry them with compressed air. Do not dip the rubber parts in solvent.
  2. Align the pin (A) of the subvalve (B) with the oil passage (C) in the pump housing. Push the subvalve into place, then install the snap ring (D).
    Fig 1: Aligning Pin Of Subvalve
    G01505739Courtesy of AMERICAN HONDA MOTOR CO., INC.
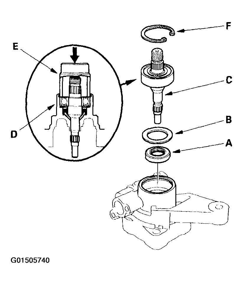
  3. Install the new pump seal (A) (with its grooved side facing in) into the pump housing by hand, then install the pump seal spacer (B).
    Fig 2: Installing New Pump Seal
    G01505740Courtesy of AMERICAN HONDA MOTOR CO., INC.
  4. Position the pump drive shaft (C) in the pump housing (D), then drive it in using a 29 mm socket (E).
  5. Install the 40 mm snap ring (F) with its radiused side facing out.
  6. Coat the new pump cover seal (A) with power steering fluid, and install it into the groove in the pump cover (B).
    Fig 3: Coating New Pump Cover Seal With Power Steering Fluid
    G01505741Courtesy of AMERICAN HONDA MOTOR CO., INC.
  7. Install the outer side plate (C) over the two roll pins (D).
  8. Set the pump cam ring (A) over the two roll pins with its " " mark (B) facing down.
    Fig 4: Setting Pump Cam Ring
    G01505742Courtesy of AMERICAN HONDA MOTOR CO., INC.
  9. Assemble pump rotor (A) to the pump cover (B).
    Fig 5: Assembling Pump Rotor To Pump Cover
    G01505743Courtesy of AMERICAN HONDA MOTOR CO., INC.
  10. Set the 10 vanes (C) in the grooves in the rotor. Make sure that the round ends (D) of the vanes are in contact with the sliding surface of the cam ring.
  11. Coat the new 15.2 mm O-ring (A) with power steering fluid, and install it into the groove in the side plate (B).
    Fig 6: Coating New 15.2 mm O-ring With Power Steering Fluid
    G01505744Courtesy of AMERICAN HONDA MOTOR CO., INC.
  12. Install the side plate on the cam ring (C) by aligning the roll pins set holes (D) in the side plate with the roll pins (E).
  13. Coat the new 51 mm O-ring (A) with power steering fluid, and position it in the bottom of the pump housing (B).
    Fig 7: Coating New 51 mm O-Ring With Power Steering Fluid
    G01505745Courtesy of AMERICAN HONDA MOTOR CO., INC.
  14. Install the pump cover assembly (C) in the pump housing.
  15. Coat the flow control valve (A) with power steering fluid, then install it and the spring (B) in the pump housing.
    Fig 8: Coating Flow Control Valve With Power Steering Fluid
    G01505746Courtesy of AMERICAN HONDA MOTOR CO., INC.
  16. Coat the new 16.7 mm O-ring (C) with power steering fluid, and install it on the flow control valve cap (D), then install the cap on the pump housing, and tighten it.
  17. Coat the new 13 mm O-ring (A) with power steering fluid, and install it on the inlet joint (B). Install the inlet joint on the pump housing, and tighten the flange bolt.
    Fig 9: Coating New 13 mm O-Ring With Power Steering Fluid
    G01505747Courtesy of AMERICAN HONDA MOTOR CO., INC.
  18. Install the pulley (A), then loosely install the pulley nut (B). Hold the steering pump in a vise with soft jaws. Be careful not to damage the pump housing with the jaws of the vise.
    Fig 10: Installing Pulley
    G01505748Courtesy of AMERICAN HONDA MOTOR CO., INC.
  19. Hold the pulley with the special tool, and tighten the pulley nut.
  20. Check that the pump turns smoothly by turning the pulley by hand. If it turns hard, loosen the four flange bolts on the cover, then retighten them in the same manner as in step  13. Turn the pump again by hand.