LEMON Manuals: Even more car manuals for everyone: 1960-2025
Home >> Honda >> 2000 >> Odyssey EX V6-3.5L >> Repair and Diagnosis >> Powertrain Management >> Transmission Control Systems >> Description and Operation
April 5, 2026: LEMON Manuals is launched! Read the announcement.

Transmission Control Systems: Description and Operation



NOTE: The following paragraph is an excerpt from Honda Service News, Dated November 2001

The '00-01 Odyssey with the navigation system has a differential driven vehicle speed pulse (VSP) sensor. Its signal is used to calculate vehicle speed for the climate control system and the navigation system. The '99 Odyssey, the '00-01 Odyssey without the navigation system, and the '98-02 Accord V6 use a vehicle speed signal that the FCM/PCM calculates from countershaft speed. This signal is shared by all systems that need a vehicle speed input.

Electronic Control System

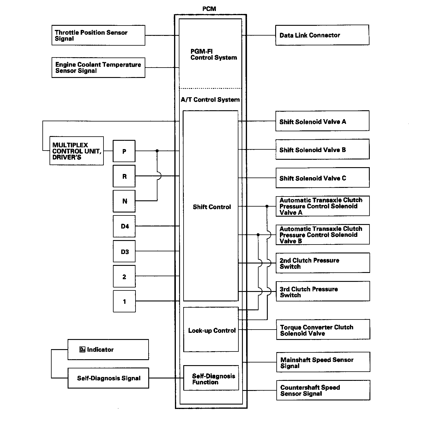
Functional Diagram





The electronic control system consists of the Powertrain Control Model (PCM), sensors, and six solenoid valves. Shifting and lock-up are electronically controlled for comfortable driving under all conditions. The PCM is located below the dashboard, under the front lower panel behind the center console.





Electronic Controls Location

Shift Control





Shifting is related to engine torque through the solenoid valves, which are controlled by the PCM. The PCM instantly determines which gear should be selected by various signals sent from sensors, and actuates the shift solenoid valves A, B, and C to control shifting. Also, a Grade Logic Control System has been adopted to control shifting in the D4 and D3 positions while the vehicle is ascending or descending a slope, or reducing speed.
The combination of driving signals to shift solenoid valves A, B, and C are shown in the table.

NOTE: For a description of the reverse inhibit mode.

Lock-up Control
The torque converter clutch solenoid valve controls modulator pressure to switch the lock-up shift valve and lock-up ON and OFF. The PCM controls the torque converter clutch solenoid valve and the A/T clutch pressure control solenoid valves A and B. When the torque converter clutch solenoid valve is turned ON, the condition of lock-up starts. The A/T clutch pressure control solenoid valves A and B regulate A/T clutch pressure control solenoid pressure and apply the pressure to the lock-up control valve and the lock-up timing valve. The lock-up control mechanism operates in 3rd and 4th gear in D4, and in 3rd gear in D3 positions.

Grade Logic Control System





How it works:
The PCM compares actual driving conditions with memorized driving conditions, based on the input from the [1][2]countershaft speed sensor, the throttle position sensor, the engine coolant temperature sensor, the brake pedal position switch signal, and the shift lever position signal, to control shifting while the vehicle is ascending or descending a slope, or reducing speed.

Ascending Control





When the PCM determines that the vehicle is climbing a hill in the D4 and D3 positions, the system extends the engagement area of 2nd gear and 3rd gear to prevent the transmission from frequently shifting between 2nd and 3rd gears, and between 3rd and 4th gears, so the vehicle can run smooth and have more power when needed.

NOTE: Shift schedules stored in the PCM between 2nd and 3rd gears, and between 3rd and 4th gears, enable to automatically select the most suitable gear according to the magnitude of a gradient.

Descending Control





When the PCM determines that the vehicle is going down a hill in the D4 and D3 positions, the shift-up speed from 3rd to 4th gear and from 2nd to 3rd (when the throttle is closed) becomes faster than the set speed for flat road driving to widen the 3rd gear and 2nd gear driving areas. This, in combination with engine braking from the deceleration lock-up, achieves smooth driving when the vehicle is descending. There are two descending modes with different 3rd gear driving areas and 2nd gear driving areas according to the magnitude of a gradient stored in the PCM. When the vehicle is in 4th gear, and you are decelerating when you are applying the brakes on a steep hill, the transmission will downshift to 3rd gear. When you accelerate, the transmission will then return to higher gear.

Deceleration Control
When the vehicle goes around a corner, and needs to decelerate first and then accelerate, the PCM sets the data for deceleration control to reduce the number of times the transmission shifts. When the vehicle is decelerating from speeds above 27 mph (43 km/h), the PCM shifts the transmission from 4th to 2nd earlier than normal to cope with upcoming acceleration.