LEMON Manuals: Even more car manuals for everyone: 1960-2025
Home >> Honda >> 2000 >> Odyssey EX >> Repair and Diagnosis >> Engine Performance >> System >> EVAP System >> DTC Troubleshooting >> DTC P1457 - '01 Model: EVAP Control System Leakage (EVAP canister system) >> Canister System Leak Test
April 5, 2026: LEMON Manuals is launched! Read the announcement.

Canister System Leak Test

  1. Turn the ignition switch OFF.
  2. Connect 2 three-way T-fittings (A) into the hose from the EVAP canister to the EVAP two way valve. Connect the FTP sensor to one of the T-fittings and the vacuum pump to the other.
    Fig 1: Connect 2 Three-Way T-fittings Into The Hose From The EVAP Canister To The EVAP Two Way Valve
    G01511919Courtesy of AMERICAN HONDA MOTOR CO., INC.
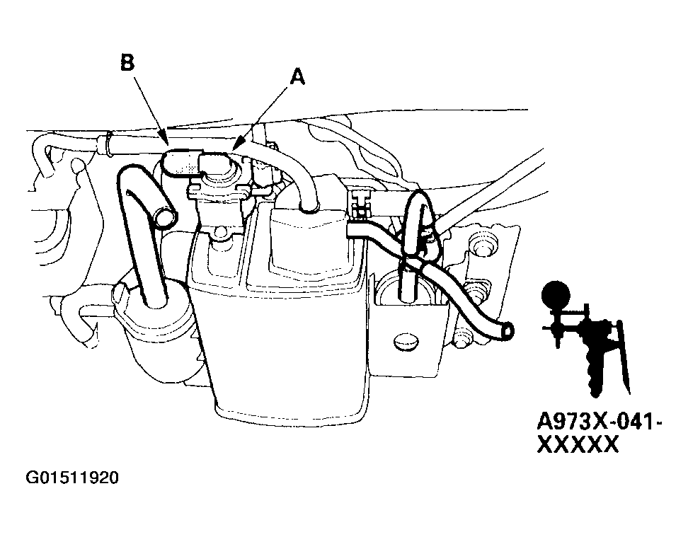
  3. Remove the vent hose from the EVAP canister vent shut valve (A) and cap the port (B) to seal the fresh air vent of the EVAP canister.
    Fig 2: Remove The Vent Hose From The EVAP Canister Vent Shut Valve & Cap The Port To Seal The Fresh Air Vent Of The EVAP Canister
    G01511920Courtesy of AMERICAN HONDA MOTOR CO., INC.
  4. Turn the ignition switch ON (II).
  5. While monitoring FTP sensor voltage with the HDS, or measuring voltage between PCM connector terminals E7 and E28, slowly pump the vacuum pump every 1 - 2 seconds.
  6. Continue to pump vacuum until the voltage drops to about 1.5 V. Make sure that the engine coolant temperature is still above 95°F (35°C) and your vacuum pump has no leak.
  7. Monitor the voltage for 20 seconds.

    Does the voltage drop to 1.5 V and hold for at least 20 seconds? 

    1. YES:  Inspect the EVAP canister vent shut valve line and connections.
    2. NO:  Go to step 8.
  8. Turn the ignition switch OFF.
  9. Disconnect the fuel tank vapor vent tube (A) from the canister at the metal line and plug the hose (B).
    Fig 3: Disconnecting The Fuel Tank Vapor Vent Tube From The Canister At The Metal Line And Plug The Hose
    G01511921Courtesy of AMERICAN HONDA MOTOR CO., INC.
  10. Turn the ignition switch ON (II).
  11. While monitoring FTP sensor voltage with the HDS, or while measuring voltage between PCM connector terminals E7 and E28, slowly pump the vacuum pump every 1 - 2 seconds.
  12. Continue to pump vacuum until the voltage drops to about 1.5 V. Make sure that the engine coolant temperature is still above 95°F (35°C) and your vacuum pump does not have a leak.
  13. Monitor the voltage for 20 seconds.

    Does the voltage drop to 1.5 V and hold for at least 20 seconds? 

    1. YES:  Check the fuel tank vapor control line and connections for misrouting, poor connections, damage, or pinched areas. If the line and connections are OK, replace the fuel tank vapor control valve.
    2. NO:  Go to step 14.
  14. Turn the ignition switch OFF.
  15. Disconnect the purge line hose (A) from the canister at the metal line, and plug the hose (B).
    Fig 4: Disconnecting The Purge Line Hose From The Canister At The Metal Line, & Plug The Hose
    G01511922Courtesy of AMERICAN HONDA MOTOR CO., INC.
  16. Turn the ignition switch ON (II).
  17. While monitoring FTP sensor voltage with the HDS, or while measuring voltage between PCM connector terminals E7 and E28, slowly pump the vacuum pump every 1 - 2 seconds.
  18. Continue to pump vacuum until the voltage drops to about 1.5 V. Make sure that the engine coolant temperature is still above 95°F (35°C) and your vacuum pump does not have a leak.
  19. Monitor the voltage for 20 seconds.

    Does the voltage drop to 1.5 V and hold for at least 20 seconds? 

    1. YES:  Inspect the EVAP canister purge valve line and connections. If they are OK, do the EVAP two way valve test (see EVAP Two Way Valve Test  ). If the line, the connections, and the EVAP two way valve are OK, replace the EVAP canister purge valve.
    2. NO:  Replace the EVAP canister.