LEMON Manuals: Even more car manuals for everyone: 1960-2025
Home >> Honda >> 2000 >> Odyssey LX >> Repair and Diagnosis >> External Pages >> Different car >> Section 86 (Navigation System) >> DVD-ROM Replacement
April 5, 2026: LEMON Manuals is launched! Read the announcement.

DVD-ROM Replacement

WARNING: This page is about a different car, the 2006 Honda Odyssey and 2005 Honda Odyssey. However, it is still accessible from the selected car via links, so may be relevant.
NOTE: When the DVD-ROM is re-inserted or replaced, a map matching must be done (see AFTER SERVICING PROCEDURES-MAP MATCHING  ). This system uses a white label disc (possibly gray for Canada).
  1. Turn the ignition switch ON (II).
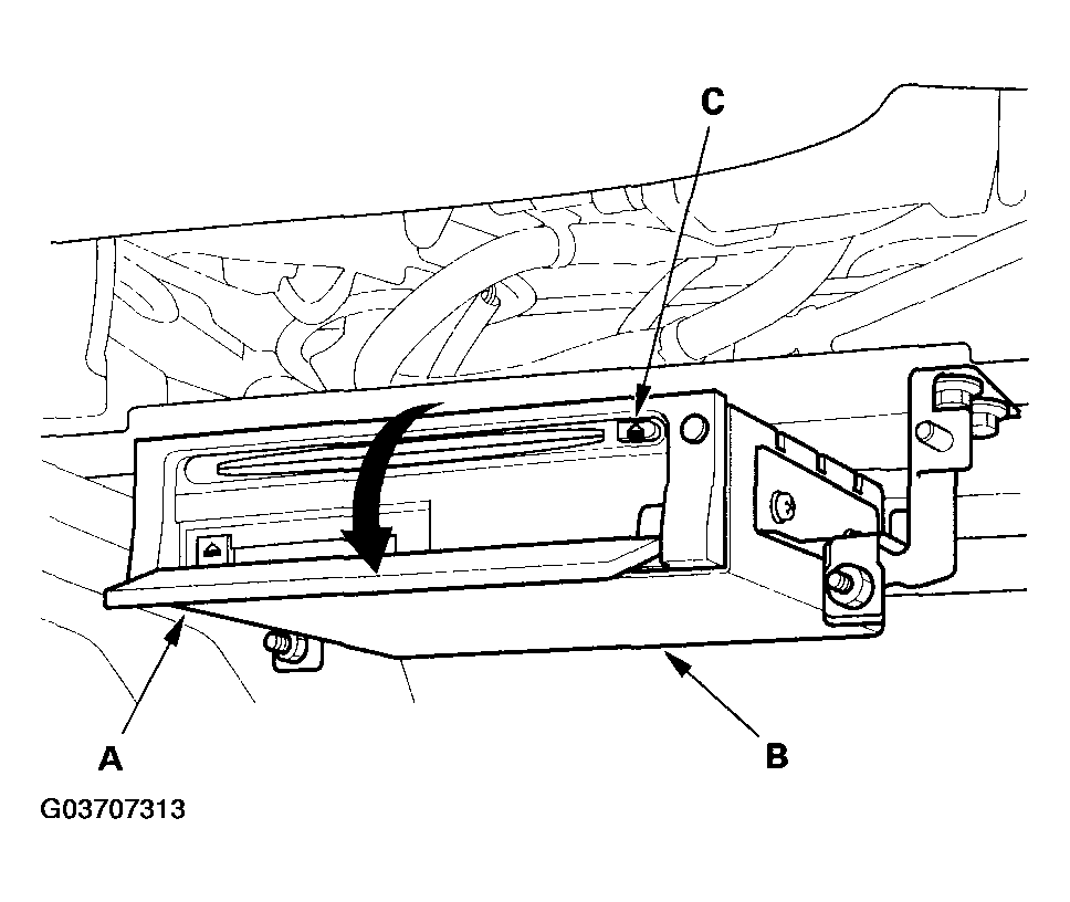
  2. Open the front cover (A) of the navigation unit (B) located under the driver's seat.
    Fig 1: Opening Front Cover Of Navigation Unit
    G03707313Courtesy of AMERICAN HONDA MOTOR CO., INC.
  3. Press the EJECT button (C).
  4. Remove the DVD-ROM.
  5. Insert the new DVD-ROM.
  6. Close the front cover. Do not turn the ignition switch OFF until data is downloaded to navigation unit.
    NOTE: After servicing, the front cover must be closed. If you start up the navigation system with the front cover open, the display will indicate. "Navigation unit door is open or No DVD Disk installed. Please check system".