LEMON Manuals: Even more car manuals for everyone: 1960-2025
Home >> Honda >> 2000 >> S2000 >> Repair and Diagnosis >> Engine Performance >> Ignition System >> Ignition Coil Removal/Installation
April 5, 2026: LEMON Manuals is launched! Read the announcement.

Ignition Coil Removal/Installation

  1. Remove the ignition coil cover (A).
    Fig 1: Ignition Coil Cover & Ignition Coils With Torque Specifications
    G03692127Courtesy of AMERICAN HONDA MOTOR CO., INC.
  2. Disconnect the ignition coil connectors, then remove the ignition coils (B).
  3. Install the ignition coils in the reverse order of removal.
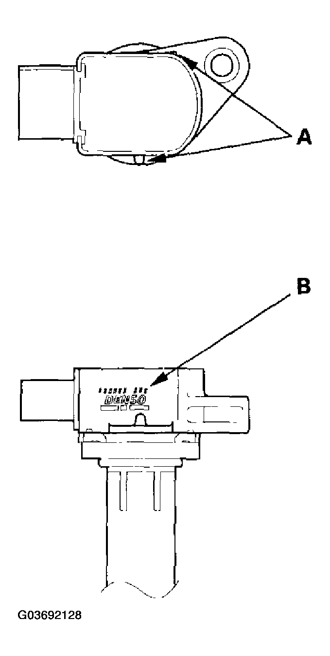
    NOTE: The ignition coils for 2006-09 model are different from former models. Do not install the ignition coils for other year model, because it may be damaged. As for the distinction, the ignition coils for 2006-09 model have the ribs (A) on the coil head and supplier's parts number (B).
    Fig 2: Identifying Ribs On Coil Head & Supplier's Parts Number
    G03692128Courtesy of AMERICAN HONDA MOTOR CO., INC.