LEMON Manuals: Even more car manuals for everyone: 1960-2025
Home >> Honda >> 2000 >> S2000 >> Repair and Diagnosis >> Engine Performance >> System >> PGM-FI System >> Injector Replacement
April 5, 2026: LEMON Manuals is launched! Read the announcement.

Injector Replacement

  1. Relieve the fuel pressure (see FUEL PRESSURE RELIEVING ).
  2. Remove the fuel rail cover (A), then disconnect the connectors from the injectors (B).
    Fig 1: Disconnecting Connectors From Injectors With Torque Specifications
    G03692692Courtesy of AMERICAN HONDA MOTOR CO., INC.
  3. Disconnect the vacuum hose and fuel return hose from the fuel pressure regulator (C). Place a rag or shop towel over the hoses before disconnecting them.
  4. Disconnect the fuel hose (D) from the fuel rail (E). Remove the vacuum lines (F).
  5. Remove the retainer nuts (G) and bolts (H) from the fuel rail and harness holder (I).
  6. Disconnect the PCV valve (J).
  7. Disconnect the fuel rail.
  8. Remove the injectors from the intake manifold (K).
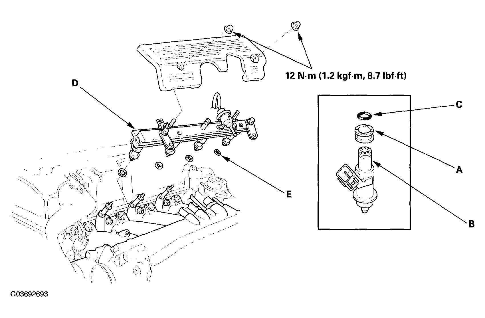
  9. Slide new cushion rings (A) onto the injectors (B).
    Fig 2: Slide New Cushion Rings Onto Injectors With Torque Specifications
    G03692693Courtesy of AMERICAN HONDA MOTOR CO., INC.
  10. Coat new O-rings (C) with clean engine oil, and put them on the injectors.
  11. Insert the injectors into the fuel rail (D).
  12. Coat new seal rings (E) with clean engine oil, and press them into the intake manifold.
  13. Install the injectors in the intake manifold.
  14. Install and tighten the retainer nuts.
  15. Connect the fuel hose to the fuel rail with new washers.
  16. Connect the vacuum hoses and fuel return hose to the fuel pressure regulator.
  17. Connect the PCV valve.
  18. Turn the ignition switch ON (II), but do not operate the starter. After the fuel pump runs for about 2 seconds, the fuel pressure in the fuel line rises. Repeat this 2 or 3 times, then check for fuel leakage.