LEMON Manuals: Even more car manuals for everyone: 1960-2025
Home >> Honda >> 2000 >> S2000 >> Repair and Diagnosis >> External Pages >> Different car >> Section 9 (Heating System) >> Heater Unit/Core Replacement
April 5, 2026: LEMON Manuals is launched! Read the announcement.

Heater Unit/Core Replacement

WARNING: This page is about a different car, the 2009 Honda S2000 and 2008 Honda S2000. However, it is still accessible from the selected car via links, so may be relevant.

SRS components are located in this area. Review the SRS component locations: '00-09 models (see SRS (SUPPLEMENTAL RESTRAINT SYSTEM) and the precautions and procedures (see PRECAUTIONS AND PROCEDURES ) before doing repairs or service.

  1. Make sure you have the anti-theft code for the audio system, then write down the audio preset.
  2. Disconnect the negative cable from the battery.
  3. Remove the heat shield of the exhaust manifold.
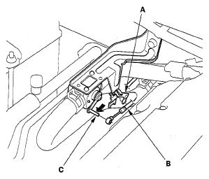
  4. From under the hood, open the cable clamp (A), then disconnect the heater valve cable (B) from the heater valve arm (C). Turn the heater valve arm to the fully opened position as shown.
    Fig 1: Identifying Cable Clamp, Heater Valve Cable And Heater Valve Arm
    G05115929Courtesy of AMERICAN HONDA MOTOR CO., INC.
  5. When the engine is cool, drain the engine coolant from the radiator (seeCOOLANT REPLACEMENT ).
  6. Remove the mounting bolt from the heater valve. Slide the clamps (A) back, then disconnect the inlet and outlet heater hoses (B) from the heater unit. Engine coolant will run out when the hoses are disconnected; drain it into a clan drip pan. Be sure not to let coolant spill on the electrical parts or the painted surfaces. If any coolant spills, rinse it off immediately.
    Fig 2: Mounting Bolt And Heater Valve Replacement Components With Torque Specifications
    G05115930Courtesy of AMERICAN HONDA MOTOR CO., INC.
  7. Remove the mounting nut from the heater unit. Take care not to damage or bend the fuel and brake lines, etc..
    Fig 3: Mounting Nut And Heater Unit With Torque Specifications
    G05115931Courtesy of AMERICAN HONDA MOTOR CO., INC.
  8. Remove the dashboard (see DASHBOARD REMOVAL/INSTALLATION ).
  9. Remove the blower unit (see Blower Unit Removal/Installation ).
  10. Remove the mounting bolts, the center brackets (A) and the audio brackets (B).
    Fig 4: Mounting Bolts, Center Brackets And Audio Brackets With Torque Specifications
    G05115932Courtesy of AMERICAN HONDA MOTOR CO., INC.
  11. Remove the SRS unit (see SRS UNIT REPLACEMENT ).
  12. Remove the self-tapping screws and the defroster outlet (A), then remove the wire harness clips (B).
    Fig 5: Identifying Defroster Outlet And Wire Harness Clips
    G05115933Courtesy of AMERICAN HONDA MOTOR CO., INC.
  13. Disconnect the connectors (A) from the mode control motor and the air mix control motor, then remove the wire harness clip (B). Remove the mounting nuts, the mounting bolt and the heater unit (C).
    Fig 6: Identifying Mode Control Motor And Air Mix Control Motor
    G05115934Courtesy of AMERICAN HONDA MOTOR CO., INC.
  14. Remove the self-tapping screw and the passenger's heater outlet (A), then remove the self-tapping screw and the clamp (B). Be careful not to bend the inlet and outlet pipes during the heater core (C) removal, and pull out the heater core.
    Fig 7: Identifying Passenger's Heater Outlet, Self-Tapping Screw And Clamp
    G05115935Courtesy of AMERICAN HONDA MOTOR CO., INC.
  15. Install the heater core in the reverse order of removal.
  16. Install the heater unit in the reverse order of removal, and note these items:
    • Do not interchange the inlet and outlet heater hoses, and install the hose clamps securely.
    • Refill the cooling system with engine coolant (seeCOOLANT REPLACEMENT ).
    • Adjust the heater valve cable (see Heater Valve Cable Adjustment ).
    • Make sure that there is no coolant leakage.
    • Make sure that there is no air leakage.
    • Enter the anti-theft code for the audio system, then enter the audio presets.