LEMON Manuals: Even more car manuals for everyone: 1960-2025
Home >> Honda >> 2001 >> Prelude Base, Automatic >> Repair and Diagnosis >> Engine Performance >> System >> Engine Controls - System & Component Testing >> Modules, Motors, Relays & Solenoids >> PGM-FI Main Relay Test >> Civic & Insight
April 5, 2026: LEMON Manuals is launched! Read the announcement.

Civic & Insight

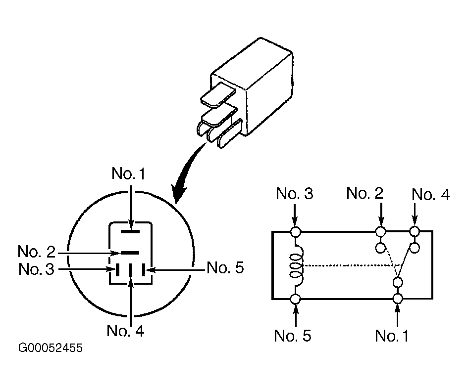
NOTE: Civic uses two 5-pin PGM-FI main relays that are tested in same manner. Insight uses a 5-pin PGM-FI main relay. Relays may not contain a terminal at position No. 4.

Remove PGM-FI main relay No. 1 and/or No. 2. See COMPONENT LOCATIONS  and Fig 1. Using jumper wires, connect battery power to PGM-FI main relay terminal No. 5 and connect ground to PGM-FI main relay terminal No. 3. Check for continuity between PGM-FI main relay terminals No. 1 and 2. When power is removed from terminals No. 5 and 3, continuity should not exist between terminals No. 1 and 2. See Fig 2. If relay tests as described, relay is okay. If relay does not test as described, replace defective PGM-FI main relay and retest.

Fig 1: Locating PGM-FI Main Relays (Civic)
G00033758Courtesy of AMERICAN HONDA MOTOR CO., INC.
Fig 2: Testing PGM-FI Main Relays No. 1 & No. 2 (Civic Is Shown, Insight PGM-FI Main Relay Is Similar)
G00052455Courtesy of AMERICAN HONDA MOTOR CO., INC.