LEMON Manuals: Even more car manuals for everyone: 1960-2025
Home >> Honda >> 2001 >> S2000 >> Repair and Diagnosis >> Engine Mechanical >> Mechanical >> Engine Block >> Piston Ring Replacement
April 5, 2026: LEMON Manuals is launched! Read the announcement.

Piston Ring Replacement

  1. Remove the piston from the engine block (see OIL PAN REMOVAL  ).
  2. Using a ring expander (A), remove the old piston rings (B).
    Fig 1: Removing Old Piston Rings
    G03692447Courtesy of AMERICAN HONDA MOTOR CO., INC.
  3. Clean all ring grooves thoroughly with a squared-off broken ring or ring groove cleaner with a blade to fit the piston grooves. The top and second ring grooves are 1.2 mm (0.05 in.) wide. The oil ring groove is 2.0 mm (0.08 in.) wide. File down a blade if necessary. Do not use a wire brush to clean the ring grooves, or cut the ring grooves deeper with the cleaning tools.
    NOTE: If the piston is to be separated from the connecting rod, do not install new rings yet.
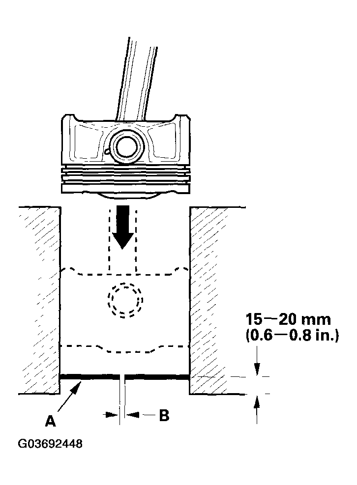
  4. Using a piston, push a new ring (A) into the cylinder bore 15-20 mm (0.6-0.8 in.) from the bottom.
    Fig 2: Pushing New Ring Into Cylinder Bore From Bottom Using Piston
    G03692448Courtesy of AMERICAN HONDA MOTOR CO., INC.
  5. Measure the piston ring end-gap (B) with a feeler gauge:
    • If the gap is too small, check to see if you have the proper rings for your engine.
    • If the gap is too large, recheck the cylinder bore diameter against the wear limits (see BLOCK AND PISTON INSPECTION  ). If the bore is over the service limit, the engine block must be rebored.

      Piston Ring End-Gap 

      Top Ring: 

      Standard (New): 0.25-0.35 mm (0.010-0.014 in.) 

      Service Limit: 0.60 mm (0.024 in.) 

      Second Ring: 

      Standard (New): 0.60-0.75 mm (0.024-0.030 in.) 

      Service Limit: 0.90 mm (0.035 in.) 

      Oil Ring: 

      Standard (New): 0.20-0.70 mm (0.008-0.028 in.) 

      Service Limit: 0.80 mm (0.031 in.) 

  6. Install the rings as shown. The top ring (A) has a R1 mark and the second ring (B) has a R2 mark. The manufacturing marks (C) must be facing upward.
    Fig 3: Installing Piston Rings
    G03692449Courtesy of AMERICAN HONDA MOTOR CO., INC.
  7. Rotate the rings in their grooves to make sure they do not bind.
  8. Position the ring end gaps as shown:
    Fig 4: Identifying Piston Ring End Gap Position
    G03692450Courtesy of AMERICAN HONDA MOTOR CO., INC.
  9. After installing a new set of rings, measure the ring-to-groove clearances:

    Top Ring Clearance 

    Standard (New): 0.045-0.090 mm (0.0018-0.0035 in.) 

    Service Limit: 0.135 mm (0.005 in.) 

    Second Ring Clearance 

    Standard (New): 0.040-0.070 mm (0.0016-0.0028 in.) 

    Service Limit: 0.13 mm (0.005 in.) 

    Fig 5: Measuring Ring-To-Groove Clearances:
    G03692451Courtesy of AMERICAN HONDA MOTOR CO., INC.