LEMON Manuals: Even more car manuals for everyone: 1960-2025
Home >> Honda >> 2001 >> S2000 >> Repair and Diagnosis >> Engine Performance >> System >> Fuel Supply System >> Fuel Line/Quick-Connect Fitting Removal
April 5, 2026: LEMON Manuals is launched! Read the announcement.

Fuel Line/Quick-Connect Fitting Removal

NOTE: Before you work on the fuel line and fittings, read the "Fuel Line/Quick-Connect Fitting Precautions" (see FUEL LINE/QUICK-CONNECT FITTING PRECAUTIONS  ).
  1. Relieve fuel pressure (see FUEL PRESSURE RELIEVING  ).
  2. Check the fuel quick-connect fittings for dirt, and clean them if necessary.
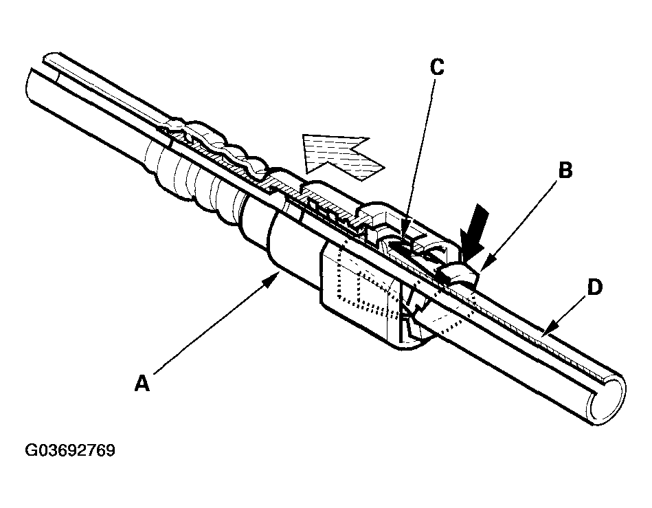
  3. Hold the connector (A) with one hand, and squeeze the retainer tabs (B) with the other hand to release them from the locking pawls (C). Pull the connector off.
    NOTE:
    • Be careful not to damage the line (D) or other parts. Do not use tools.
    • If the connector does not move, keep the retainer tabs pressed down, and alternately pull and push the connector until it comes off easily.
    • Do not remove the retainer from the line; once removed, the retainer must be replaced with a new one.
      Fig 1: Removing Retainer From Line
      G03692769Courtesy of AMERICAN HONDA MOTOR CO., INC.
  4. Check the contact area (A) of the line (B) for dirt and damage.
    • If the surface is dirty, clean it.
    • If the surface is rusty or damaged, replace the fuel tank unit, fuel filter, fuel feed line or fuel return line.
      Fig 2: Replacing Fuel Tank Unit
      G03692770Courtesy of AMERICAN HONDA MOTOR CO., INC.
  5. To prevent damage and keep foreign matter out, cover the disconnected connector and line end with plastic bags (A).
    NOTE:
    • The retainer cannot be reused once it has been removed from the pipe.
    • Replace the retainer when:
      • replacing the fuel tank unit.
      • replacing the fuel filter.
      • replacing the fuel feed line.
      • replacing the fuel return line.
      • it has been removed from the line.
      • it is damaged.
        Fig 3: Replacing Fuel Tank Unit
        G03692771Courtesy of AMERICAN HONDA MOTOR CO., INC.