LEMON Manuals: Even more car manuals for everyone: 1960-2025
Home >> Honda >> 2002 >> Accord Value Package >> Repair and Diagnosis >> Body & Frame >> Windows >> Power Window System >> Glass >> Windshield Replacement
April 5, 2026: LEMON Manuals is launched! Read the announcement.

Windshield Replacement

NOTE:
  • Put on gloves to protect your hands.
  • Wear eye protection when removing the glass with piano wire.
  • Use seat covers to avoid damaging any surfaces.
  1. Remove these items:
  2. Remove the molding (A) from the edge of the windshield (B). If necessary, cut the molding with a utility knife.
    Fig 1: Removing Molding From Edge Of Windshield
    G02558540Courtesy of AMERICAN HONDA MOTOR CO., INC.
  3. Pull down the front portion of the headliner (see HEADLINER REMOVAL/INSTALLATION ). Take care not to bend the headliner excessively, or you may crease or break it.
  4. Apply protective tape (A) along the edge of the dashboard (B) and body as shown. Using an awl, make a hole through the rubber dam (C), adhesive (D), and dashboard seal (E) from inside the vehicle. Push a piece of piano wire (F) through the hole, and wrap each end around a piece of wood.
    Fig 2: Applying Protective Tape Along Edge Of Dashboard & Body
    G02558541Courtesy of AMERICAN HONDA MOTOR CO., INC.
  5. With a helper on the outside, pull the piano wire (A) back and forth in a sawing motion. Hold the piano wire as close to the windshield as possible to prevent damage to the body and dashboard. Carefully cut through the rubber dam and adhesive around the entire windshield.
    Fig 3: Cutting Through Rubber Dam & Adhesive Around Windshield
    G02558542Courtesy of AMERICAN HONDA MOTOR CO., INC.
  6. Carefully remove the windshield.
  7. With a knife, scrape the old adhesive smooth to a thickness of about 2 mm (0.08 in) on the bonding surface around the entire windshield opening flange:
    • Do not scrape down to the painted surface of the body; damaged paint will interfere with proper bonding.
    • Remove the rubber dam and fasteners from the body.
    • Mask off surrounding surfaces before painting.
  8. Clean the body bonding surface with a sponge dampened in alcohol. After cleaning, keep oil, grease, and water from getting on the clean surface.
  9. If the old windshield is to be reinstalled, use a putty knife to scrape off all of the old adhesive, the fastener, the rubber dam, and the dashboard seal from the windshield. Clean the shaded portion of the windshield with alcohol where new adhesive is to be applied. Make sure the bonding surface is kept free of water, oil, and grease.

    Fig 4: Cleaning Windshield - Coupe
    G02558543Courtesy of AMERICAN HONDA MOTOR CO., INC.

    Fig 5: Cleaning Windshield - Sedan
    G02558544Courtesy of AMERICAN HONDA MOTOR CO., INC.
  10. Glue the rubber dam (A), fasteners (B) and dashboard seal (C) to the inside face of the windshield (D) as shown:
    • Be sure the rubber dam, fasteners, and dashboard seal line up with the alignment marks (E).
    • Be careful not to touch the windshield where adhesive will be applied.

      Fig 6: Gluing Rubber Dam, Fasteners & Dashboard Seal To Inside Face Of Windshield - Coupe
      G02558545Courtesy of AMERICAN HONDA MOTOR CO., INC.

      Fig 7: Gluing Rubber Dam, Fasteners & Dashboard Seal To Inside Face Of Windshield - Sedan
      G02558546Courtesy of AMERICAN HONDA MOTOR CO., INC.
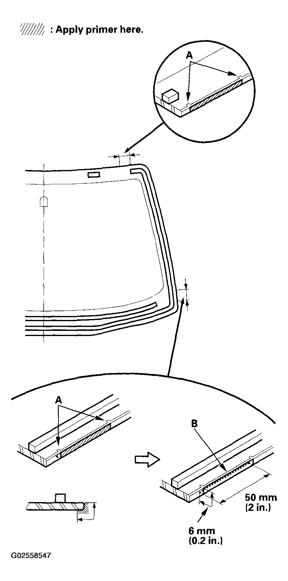
  11. Apply primer (3M N-200, or equivalent) to the areas between the alignment marks (A), and glue the adhesive tape (B) (NITTO 501, or equivalent) to the edge of the windshield. Be careful not to touch the windshield where adhesive will be applied.

    Fig 8: Applying Primer - Coupe
    G02558547Courtesy of AMERICAN HONDA MOTOR CO., INC.

    Fig 9: Applying Primer - Sedan
    G02558548Courtesy of AMERICAN HONDA MOTOR CO., INC.
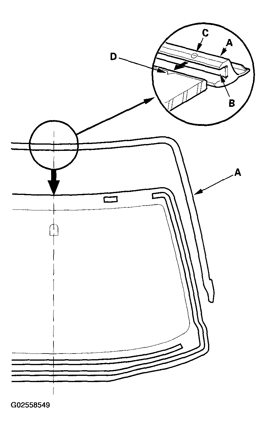
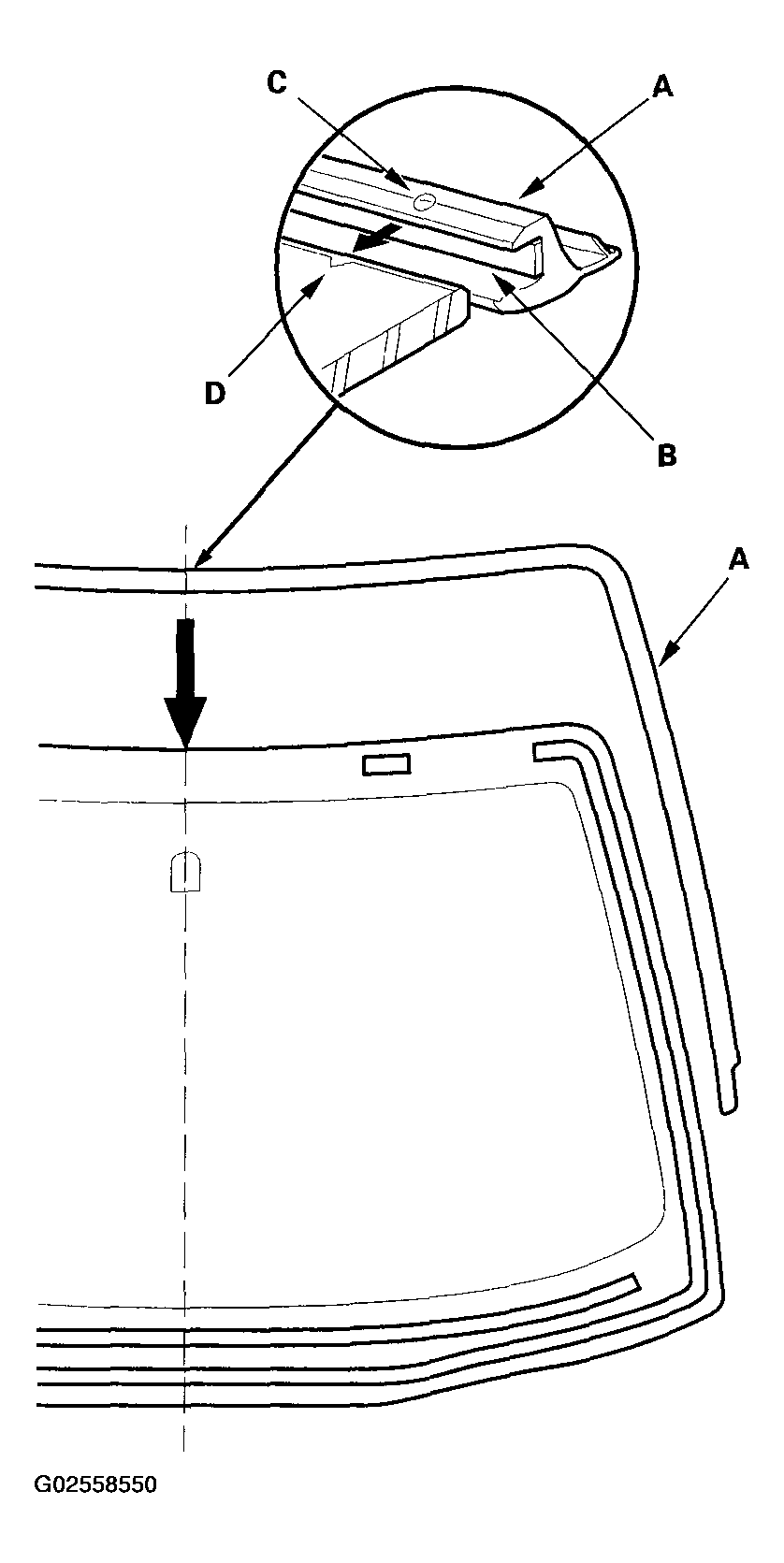
  12. Glue the molding (A) with adhesive tape (B) to the edge of the windshield (C):
    • Be sure the alignment mark (D) of the molding lines up with the alignment mark (E) of the windshield.
    • Be careful not to touch the windshield where adhesive will be applied.

      Fig 10: Gluing Molding With Adhesive Tape To Edge Of Windshield - Coupe
      G02558549Courtesy of AMERICAN HONDA MOTOR CO., INC.

      Fig 11: Gluing Molding With Adhesive Tape To Edge Of Windshield - Sedan
      G02558550Courtesy of AMERICAN HONDA MOTOR CO., INC.
  13. Glue the molding middle upper seal (coupe) (A), molding upper seal (coupe) (B), molding Corner Seal (Sedan) (C) and molding side seal (coupe) (D) to the molding (E). Be careful not to touch the windshield where adhesive will be applied.

    Fig 12: Gluing Molding Middle Upper Seal, Molding Upper Seal & Molding Side Seal To Molding - Coupe
    G02558551Courtesy of AMERICAN HONDA MOTOR CO., INC.

    Fig 13: Gluing Molding Corner Seal - Sedan
    G02558552Courtesy of AMERICAN HONDA MOTOR CO., INC.
  14. Install the fasteners to the body.

    Fig 14: Installing Fasteners To Body
    G02558553Courtesy of AMERICAN HONDA MOTOR CO., INC.
  15. Set the windshield in the opening, and center it. Make alignment marks (A) across the windshield and body with a grease pencil at the four points shown. Be careful not to touch the windshield where adhesive will be applied.
    Fig 15: Making Alignment Marks Across Windshield & Body
    G02558554Courtesy of AMERICAN HONDA MOTOR CO., INC.
  16. Remove the windshield.
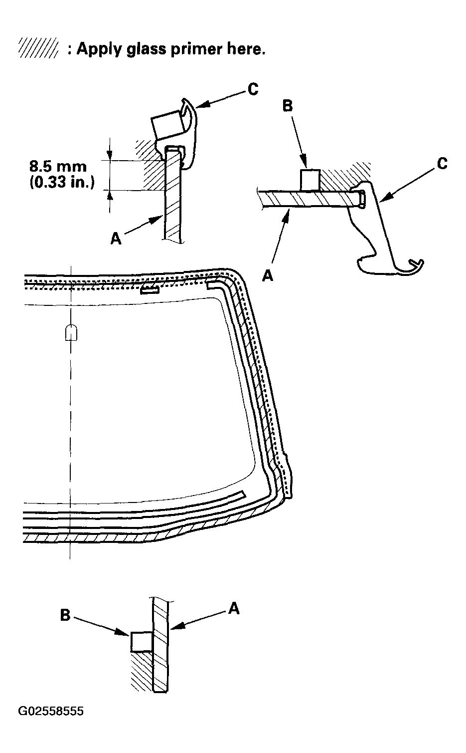
  17. With a sponge, apply a light coat of glass primer around the edge of the windshield (A) between the dam (B) and molding (C) as shown, then lightly wipe it off with gauze or cheesecloth:
    • Apply glass primer to the molding.
    • Do not apply body primer to the windshield, and do not get the body and glass primer sponges mixed up.
    • Never touch the primed surfaces with your hands. If you do, the adhesive may not bond to the windshield properly, causing a leak after the windshield is installed.
    • Keep water, dust, and abrasive materials away from the primed surface.

      Fig 16: Applying Glass Primer - Coupe
      G02558555Courtesy of AMERICAN HONDA MOTOR CO., INC.

      Fig 17: Applying Glass Primer - Sedan
      G02558556Courtesy of AMERICAN HONDA MOTOR CO., INC.
  18. With a sponge, apply a light coat of body primer to the original adhesive remaining around the windshield opening flange. Let the body primer dry for at least 10 minutes:
    • Do not apply glass primer to the body, and be careful not to mix up the glass and body primer sponges.
    • Never touch the primed surfaces with your hands.
    • Mask off the dashboard before painting the flange.
      Fig 18: Applying Body Primer
      G02558557Courtesy of AMERICAN HONDA MOTOR CO., INC.
  19. Before filling a cartridge, cut a "V" in the end of the nozzle (A) as shown.
    Fig 19: Cutting A "V" In End Of Cartridge Nozzle
    G02558558Courtesy of AMERICAN HONDA MOTOR CO., INC.
  20. Pack adhesive into the cartridge without air pockets to ensure continuous delivery. Put the cartridge in a caulking gun, and run a bead of adhesive (A) around the edge of the windshield (B) between the dam (C) and molding (D) as shown. Apply the adhesive within 30 minutes after applying the glass primer. Make a slightly thicker bead at each corner.

    Fig 20: Running A Bead Of Adhesive Around Edge Of Windshield Between Dam & Molding - Coupe
    G02558559Courtesy of AMERICAN HONDA MOTOR CO., INC.

    Fig 21: Running A Bead Of Adhesive Around Edge Of Windshield Between Dam & Molding - Sedan
    G02558560Courtesy of AMERICAN HONDA MOTOR CO., INC.
  21. Use suction cups (A) to hold the windshield over the opening, align it with the alignment marks (B) made in step  15 , and set it down on the adhesive. Lightly push on the windshield until its edges are fully seated on the adhesive all the way around. Do not open or close the doors until the adhesive is dry.
    Fig 22: Aligning Windshield With Alignment Marks
    G02558561Courtesy of AMERICAN HONDA MOTOR CO., INC.
  22. Scrape or wipe the excess adhesive off with a putty knife or towel. To remove adhesive from a painted surface or the windshield, wipe with a soft shop towel dampened with alcohol.
  23. Let the adhesive dry for at least 1 hour, then spray water over the windshield and check for leaks. Mark leaking areas, and let the windshield dry, then seal with sealant:
    • Let the vehicle stand for at least 4 hours after windshield installation. If the vehicle has to be used within the first 4 hours, it must be driven slowly.
    • Keep the windshield dry for the first hour after installation.
  24. Reinstall all remaining removed parts. Install the rearview mirror after the adhesive has dried thoroughly. Advise the customer not to do the following things for 2 to 3 days:
    • Slam the doors with all the windows rolled up.
    • Twist the body excessively (such as when going in and out of driveways at an angle or driving over rough, uneven roads).