LEMON Manuals: Even more car manuals for everyone: 1960-2025
Home >> Honda >> 2002 >> Accord Value Package >> Repair and Diagnosis >> External Pages >> Different car >> Section 177 (Exterior Lights) >> Automatic Lighting Control Unit Input Test
April 5, 2026: LEMON Manuals is launched! Read the announcement.

Automatic Lighting Control Unit Input Test

WARNING: This page is about a different car, the 2006 Honda Odyssey and 2005 Honda Odyssey. However, it is still accessible from the selected car via links, so may be relevant.
  1. Before testing the automatic lighting control functions, troubleshoot the multiplex integrated control system using B-CAN System Diagnosis Test Mode A (see TROUBLESHOOTING - B-CAN SYSTEM DIAGNOSIS TEST MODE A ).
  2. Remove the driver's dashboard lower cover (see DRIVER'S DASHBOARD LOWER COVER REMOVAL/INSTALLATION ).
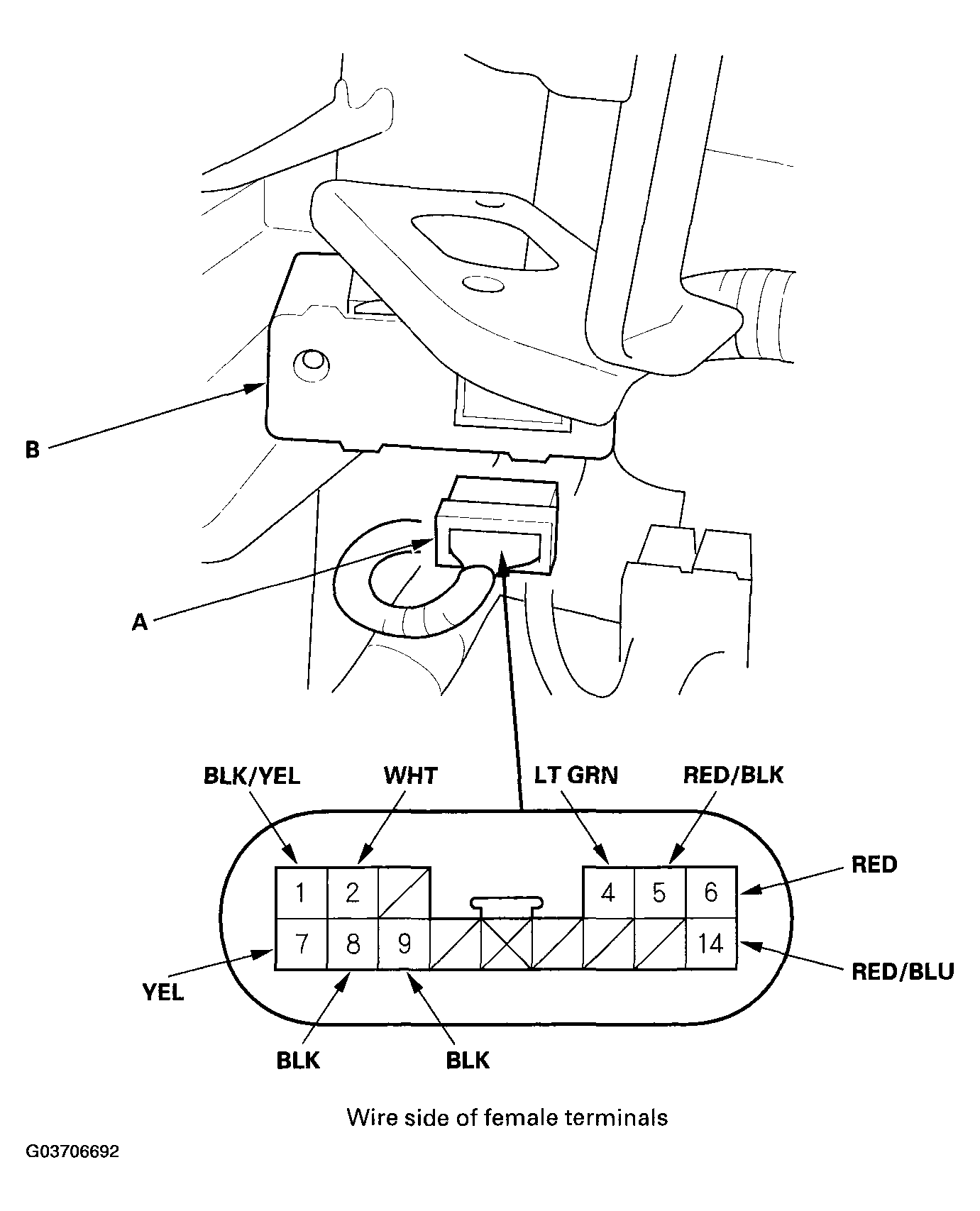
  3. Disconnect the 14P connector (A) from the automatic lighting control unit (B).
    Fig 1: Disconnect 14P Connector From Automatic Lighting Control Unit
    G03706692Courtesy of AMERICAN HONDA MOTOR CO., INC.
  4. Inspect the connector and socket terminals to be sure they are all making good contact.
    • If the terminals are bent, loose or corroded, repair them as necessary, and recheck the system.
    • If the terminals look OK, go to step 5.
  5. Reconnect the automatic lighting control unit connector, then make these input tests at the connector.
    • If any test indicates a problem, find and correct the cause, then recheck the system.
    • If all the inputs test prove OK, go to step 6.
    AUTOMATIC LIGHTING CONTROL UNIT INPUT TEST DESCRIPTION (1 OF 2)

    Cavity Wire Test condition Test: Desired result Possible cause if result is not obtained
    8 BLK Under all conditions Check for voltage to ground: There should be less than 1 V.
    • Poor ground (G501)
    • An open in the wire
    9
    1 BLK/YEL Ignition switch ON (II) Check for voltage to ground: There should be battery voltage.
    • Blown No. 30 (10 A) fuse in the driver's under-dash fuse/relay box
    • Faulty driver's under-dash fuse/relay box
    • Faulty passenger's under-dash fuse/relay box
    • An open in the wire
    7 YEL Ignition switch ON (II) Check for voltage to ground: There should be battery voltage.
    • Blown No. 21 (7.5 A) fuse in the driver's under-dash fuse/relay box
    • Faulty driver's under-dash fuse/relay box
    • An open in the wire
    2 WHT Ignition switch ON (II) and headlight switch ON Check for voltage to ground: There should be less than 1 V. An open in the wire
    4 LT GRN Under all conditions Check for continuity between the No. 4 terminal and driver's under-dash fuse/relay box connector X (39P) No. 18 terminal: There should be continuity. An open in the wire
  6. Connect a voltmeter and jumper wires as shown in Fig 2, then turn the ignition switch ON (II) and make the input test at the connector.
    • If test indicates a problem, find and correct the cause, then recheck the system.
    • If the input test proves OK, replace the automatic lighting control unit.
    Fig 2: Connecting Voltmeter And Jumper Wires
    G03706693Courtesy of AMERICAN HONDA MOTOR CO., INC.
    AUTOMATIC LIGHTING CONTROL UNIT INPUT TEST DESCRIPTION (2 OF 2)

    Cavity Wire Test condition Test: Desired result Possible cause if result is not obtained
    6 RED Cover the automatic lighting sensor. (Cut the light off completely with a dark cloth.) Check for voltage between the No. 6 terminal and body ground: There should be less than 1 V.
    • Faulty automatic lighting sensor
    • An open in the wire
    Shine light on the automatic lighting sensor. Check for voltage between the No. 6 terminal and body ground: There should be 5 V or more.