LEMON Manuals: Even more car manuals for everyone: 1960-2025
Home >> Honda >> 2002 >> Accord Value Package >> Repair and Diagnosis >> External Pages >> Different variant/trim >> Section 2 (Anti-Lock/Traction Control System) >> Component Tests >> Relay Test >> Pump Motor Relay
April 5, 2026: LEMON Manuals is launched! Read the announcement.

Pump Motor Relay

WARNING: This page is about a different variant/trim than selected.

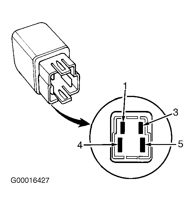
Check continuity between pump motor relay terminals No. 1 and 3. See Fig 1 . Continuity should exist. Check continuity between pump motor relay terminals No. 4 and 5. Continuity should not exist. Apply battery voltage across pump motor relay terminals No. 1 and 3 and check continuity between pump motor relay terminals No. 4 and 5. Continuity should exist. If continuity is not as indicated, replace pump motor relay.

Fig 1: Identifying Pump Motor Relay Terminals
G00016427Courtesy of AMERICAN HONDA MOTOR CO., INC.