LEMON Manuals: Even more car manuals for everyone: 1960-2025
Home >> Honda >> 2002 >> Insight Standard >> Repair and Diagnosis >> External Pages >> Different car >> Section 45 (Climate Control Systems) >> Climate Control Panel Removal and Installation >> With Navigation System
April 5, 2026: LEMON Manuals is launched! Read the announcement.

With Navigation System

WARNING: This page does not describe the selected car, but rather 6 other vehicles, including the 2004 Honda Odyssey, 2003 Honda Odyssey, 2002 Honda Odyssey, 2001 Honda Odyssey, and 2000 Honda Odyssey. However, it is still accessible from the selected car via links, so may be relevant.
  1. Remove the instrument panel with the climate control panel (see CENTER PANEL REMOVAL/INSTALLATION ).
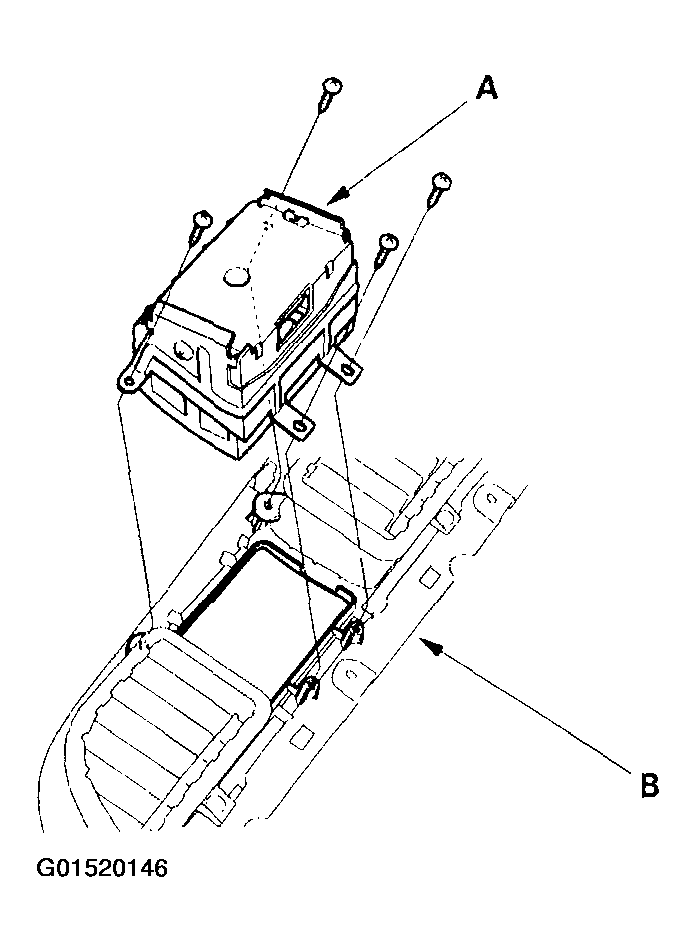
  2. Remove the self-tapping screws and the climate control panel (A) from the instrument panel (B).
    Fig 1: Removing Self-Tapping Screws & Climate Control Panel
    G01520146Courtesy of AMERICAN HONDA MOTOR CO., INC.
  3. Install the control panel in the reverse order of removal. After installation operate the climate control panel to see whether it works properly.
  4. Run the self-diagnosis function to confirm that there are no problems in the system (see General Troubleshooting Information  ).