LEMON Manuals: Even more car manuals for everyone: 1960-2025
Home >> Honda >> 2003 >> CR-V EX, Automatic >> Repair and Diagnosis >> Transmission >> Automatic Trans >> Automatic Transmission Interlock System >> Shift Lock Solenoid Test/Replacement
April 5, 2026: LEMON Manuals is launched! Read the announcement.

Shift Lock Solenoid Test/Replacement

  1. Remove the driver's dashboard lower cover (see DRIVER'S DASHBOARD LOWER COVER REMOVAL/INSTALLATION ) and the instrument panel (see INSTRUMENT PANEL REMOVAL/INSTALLATION ).
  2. Disconnect the O/D switch/shift lock solenoid/park pin switch connector.
    Fig 1: Disconnecting O/D Switch/Shift Lock Solenoid/Park Pin Switch Connector
    G01461928Courtesy of AMERICAN HONDA MOTOR CO., INC.
  3. Connect the battery positive terminal to the No.4 terminal of the O/D switch/shift lock solenoid/park pin switch connector, and connect the battery negative terminal to the No. 3 terminal.
    NOTE: Do not connect the battery positive terminal to the No. 3 terminal or you will damage the diode inside the solenoid.
  4. Check that the shift lever can be moved from the P position. Release the battery terminals, move the shift lever back to P, and make sure it locks. If the shift lock solenoid works properly, connect the connector and install the removed parts.

    If the shift lock solenoid is faulty, go to step 5 for replacement.

  5. Shift the shift lever to the R position.
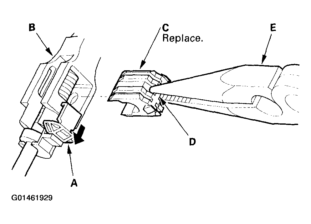
  6. Slide the lock tab (A) down on the shift cable end holder (B).
    Fig 2: Sliding Lock Tab Down On Shift Cable End Holder
    G01461929Courtesy of AMERICAN HONDA MOTOR CO., INC.
  7. Grasp the shift cable lock (C) in the middle (D) with needle-nose pliers (E), and remove it from the shift cable end and shift cable end holder.
    NOTE: Do not pry the shift cable lock with a screwdriver, it may damage the shift cable end holder.
  8. Separate the shift cable end from the shift cable end holder.
  9. Rotate the socket holder (A) on the shift cable (B) a quarter turn; the tab (C) on the socket holder will be in the opening (D) of the socket holder bracket (E). Then slide the holder to remove the shift cable from the socket holder bracket.
    NOTE: Do not remove the shift cable by twisting the shift cable quite (F) and damper (G).
    Fig 3: Rotating Socket Holder On Shift Cable
    G01461930Courtesy of AMERICAN HONDA MOTOR CO., INC.
  10. Remove the shift lever assembly.
    Fig 4: Removing Shift Lever Assembly
    G01461931Courtesy of AMERICAN HONDA MOTOR CO., INC.
  11. Remove the harness from the harness clamps on the shift lever bracket base, and remove the harness band from the harness.
  12. Pry up the tabs on the O/D switch/shift lock solenoid/park pin switch connector (A) to release the lock (B).
    Fig 5: Removing Shift Lock Solenoid
    G01461932Courtesy of AMERICAN HONDA MOTOR CO., INC.
  13. Remove the terminal (C) from the connector by pushing the lock tab (D) up in the connector using a thin blade screwdriver (E). Remove all six terminals.
  14. Remove the shift lever cover.
  15. Remove the shift lock solenoid.
  16. Install the shift lock solenoid plunger (A) and plunger spring (B) in the new shift lock solenoid (C).
    Fig 6: Installing Shift Lock Solenoid Plunger & Plunger Spring
    G01461933Courtesy of AMERICAN HONDA MOTOR CO., INC.
  17. Install the shift lock solenoid by aligning the joint of the shift lock solenoid plunger with the tip of the shift lock stop (D).
  18. Route the harnesses, and clamp them as shown.
    Fig 7: Routing The Harnesses
    G01461934Courtesy of AMERICAN HONDA MOTOR CO., INC.
  19. Install the O/D switch harness terminals (A) in the NO. 5 and No. 6 cavities. Either O/D switch harness terminal can be installed in the No. 5 and No. 6 cavities.
    Fig 8: Installing O/D Switch Harness Terminals
    G01461935Courtesy of AMERICAN HONDA MOTOR CO., INC.
  20. Install the park pin switch harness terminals (B) in the No. 1 and No. 2 cavities. Either park pin switch harness terminal can be installed in the No. 1 and No. 2 cavities.
  21. Install the BLU harness terminal (C) of the shift lock solenoid in the No. 3 cavity and the RED harness terminal (D) in the No. 4 cavity. Make sure that all six terminals lock securely, then install the lock (E) securely.
  22. Align the marks (A) on the harnesses, and tie the harness band (B) over the marks. Clamp the O/D switch harness (15 mm (0.6 in.) (D) from the harness band.
    Fig 9: Aligning Marks On The Harnesses
    G01461936Courtesy of AMERICAN HONDA MOTOR CO., INC.
  23. Install the shift lever cover.
  24. Install the shift lever assembly.
    Fig 10: Installing Shift Lever Assembly
    G01461937Courtesy of AMERICAN HONDA MOTOR CO., INC.
  25. Turn the ignition switch ON (II), and verify that the R position indicator comes on.
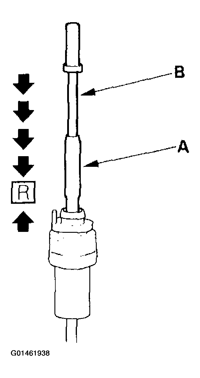
  26. If necessary, push the shift cable until it stops, then release it. Pull the shift cable back one step so that the shift cable is in R. Do not hold the shift cable guide (A) to adjust the shift cable (B).
    Fig 11: Placing Shift Cable In "R" Position
    G01461938Courtesy of AMERICAN HONDA MOTOR CO., INC.
  27. Turn the ignition switch OFF.
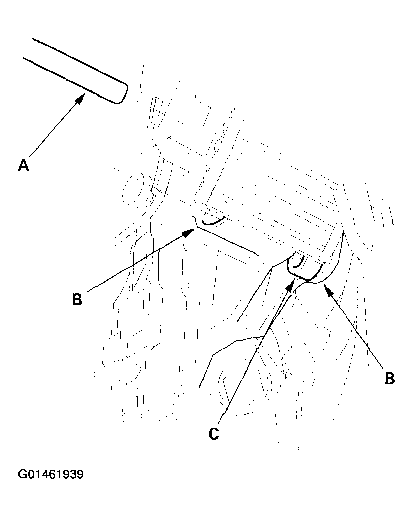
  28. Insert a 6.0 mm (0.24 in.) pin (A) into the positioning holes (B) on the shift lever bracket base and through the positioning hole (C) on the shift lever. The shift lever is secured in the R position.
    Fig 12: Locating Shift Lever Positioning Holes
    G01461939Courtesy of AMERICAN HONDA MOTOR CO., INC.
  29. Rotate the socket holder (A) on the shift cable (B) to face the tab (C) on the holder opposite to the opening (D) in the socket holder bracket (E). Align the holder with the opening in the bracket, then slide the holder into the bracket. Rotate the holder a quarter turn to secure the shift cable. Do not install the shift cable by twisting the shift cable guide (F) and damper (G).
    Fig 13: Rotating Socket Holder On The Shift Cable
    G01461940Courtesy of AMERICAN HONDA MOTOR CO., INC.
  30. Install the shift cable end (A) in the shift cable end holder (B). Keep the shift cable end and end holder free of grease.
    Fig 14: Installing Shift Cable End
    G01461941Courtesy of AMERICAN HONDA MOTOR CO., INC.
  31. Install the new shift cable lock (A) to secure the shift cable end and shift cable end holder, then push the lock tab (B) up until it stops to lock the joint.
    Fig 15: Installing New Shift Cable Lock
    G01461942Courtesy of AMERICAN HONDA MOTOR CO., INC.
  32. Remove the 6.0 mm (0.24 in.) pin that was installed to hold the shift lever.
  33. Connect the O/D switch/Shift lock solenoid/park pin switch connector.
  34. Move the shift lever to each gear, and verify that the A/T gear position indicator follows the transmission range switch.
  35. Check that the shift lock solenoid operates.
  36. Install the instrument panel (see DRIVER'S DASHBOARD LOWER COVER REMOVAL/INSTALLATION ) and the driver's dashboard lower cover (see INSTRUMENT PANEL REMOVAL/INSTALLATION ).