LEMON Manuals: Even more car manuals for everyone: 1960-2025
Home >> Honda >> 2003 >> CR-V EX, Standard >> Repair and Diagnosis >> Engine Performance >> System >> VTEC/ VTC >> VTC Oil Control Solenoid Valve Removal/Test/Installation
April 5, 2026: LEMON Manuals is launched! Read the announcement.

VTC Oil Control Solenoid Valve Removal/Test/Installation

  1. Disconnect the VTC oil control solenoid valve 2P connector.
  2. Remove the bolt (A) and VTC oil control solenoid valve (B).
    Fig 1: Removing Bolt & VTC Oil Control Solenoid Valve
    G01475607Courtesy of AMERICAN HONDA MOTOR CO., INC.
  3. Check the VTC oil control solenoid valve oil strainer for clogging. If the strainer is clogged, replace the VTC oil control solenoid valve.
  4. Note the amount of valve opening by observing the position of the piston shoulder (A) through the valve retard drain port. The valve should be closed. If you see the shoulder of the piston, the valve is open and must be replaced.
    Fig 2: Identifying One Filter Valve (Closed)
    G01475608Courtesy of AMERICAN HONDA MOTOR CO., INC.
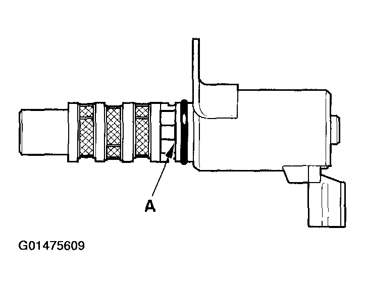
    Fig 3: Identifying Three Filter Valve
    G01475609Courtesy of AMERICAN HONDA MOTOR CO., INC.
    Fig 4: Identifying One Filter Valve (Open)
    G01475610Courtesy of AMERICAN HONDA MOTOR CO., INC.
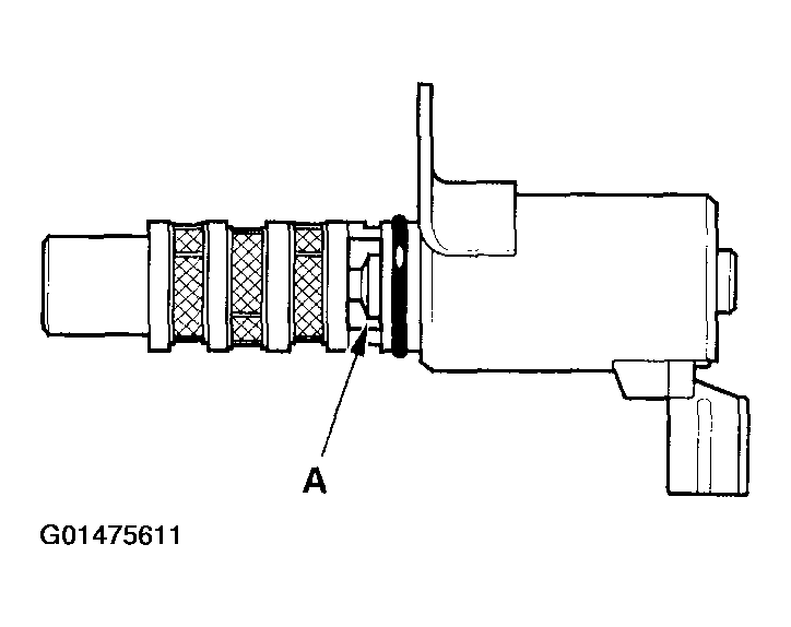
    Fig 5: Identifying Three Filter Valve
    G01475611Courtesy of AMERICAN HONDA MOTOR CO., INC.
  5. Connect the battery negative terminal to VTC oil control solenoid valve 2P connector terminal No. 1. Appearance of inner valve (A) in the port should be at least 1.2 mm (0.05 in.). If the inner valve does not open, replace it; then go to step 6.
    Fig 6: Connecting Battery Negative Terminal To VTC Oil Control Solenoid Valve 2-Pin Connector Terminal No. 1
    G01475612Courtesy of AMERICAN HONDA MOTOR CO., INC.
  6. Replace the VTC oil control solenoid valve O-ring (A).
    Fig 7: Replacing VTC Oil Control Solenoid Valve O-Ring
    G01475613Courtesy of AMERICAN HONDA MOTOR CO., INC.
  7. Coat a new O-ring with engine oil, then install it.
  8. Clean and dry the mating surface of the valve.
  9. Install the valve.
    NOTE: Do not install the valve while wearing cloth fibrous gloves. Be careful not to contaminate the cylinder head opening.