LEMON Manuals: Even more car manuals for everyone: 1960-2025
Home >> Honda >> 2003 >> Element 2WD L4-2.4L >> Repair and Diagnosis >> Maintenance >> Diagrams
April 5, 2026: LEMON Manuals is launched! Read the announcement.

Maintenance: Diagrams





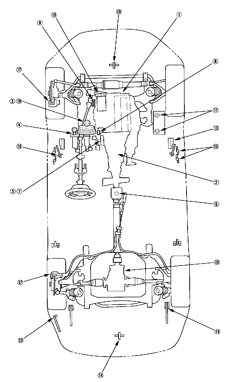
For the details of Lubrication points and type of lubricants to be applied, refer to the illustrated index and various work procedures (such as Assembly/Reassembly, Replacements, Overhaul, Installation, etc.,).





NOTE: Lubricate all hinges, latches and locks once a year. In corrosive areas, more frequent lubrication is necessary. We recommend Honda White Lithium Grease.