LEMON Manuals: Even more car manuals for everyone: 1960-2025
Home >> Honda >> 2003 >> Element DX, 2.4 YH2, Standard >> Repair and Diagnosis >> Body & Frame >> Windows >> Power Windows >> Master Switch Test/Replacement
April 5, 2026: LEMON Manuals is launched! Read the announcement.

Master Switch Test/Replacement

  1. Remove the switch panel (see FRONT DOOR PANEL REMOVAL/INSTALLATION ).
  2. Remove the door handle (see FRONT DOOR PANEL REMOVAL/INSTALLATION ).
  3. Disconnect the 20P connector from the power window master switch.
    Fig 1: Disconnecting 20P Connector From Power Window Master Switch
    G03679822Courtesy of AMERICAN HONDA MOTOR CO., INC.
  4. Check for continuity between the terminals in each switch position according to the tables.

    Driver's Switch: 

    The driver's switch is combined with the control unit so you cannot isolate the switch to test it. Instead, do the master switch input test (see MASTER SWITCH INPUT TEST  ). If the tests are normal, the driver's switch must be faulty.

    NOTE: Reset the power window control unit (see RESETTING THE POWER WINDOW CONTROL UNIT  ) if you disconnect the switch or replace it.

    Front Passenger's Switch: 

    Fig 2: Front Passenger's Switch Terminal Specification
    G03679823Courtesy of AMERICAN HONDA MOTOR CO., INC.
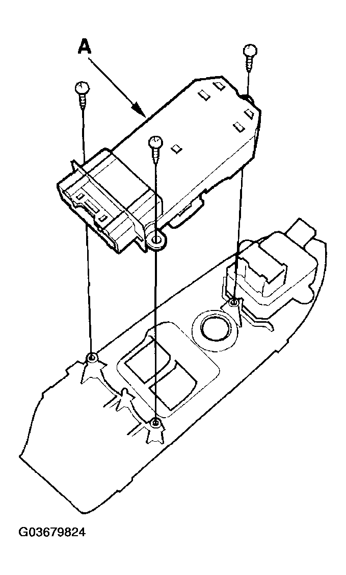
  5. If the continuity is not as specified, remove the three screws and replace the switch (A).
    Fig 3: Replacing Front Passenger's Switch
    G03679824Courtesy of AMERICAN HONDA MOTOR CO., INC.