LEMON Manuals: Even more car manuals for everyone: 1960-2025
Home >> Honda >> 2003 >> Insight Automatic CVT >> Repair and Diagnosis (Single Page) >> Body & Frame >> Windows >> Power Windows >> Master Switch Input Test
April 5, 2026: LEMON Manuals is launched! Read the announcement.

Master Switch Input Test

NOTE: The power window control unit is built into the power window master switch, and it only controls the driver's window operations.
  1. Remove the instrument panel (see INSTRUMENT PANEL REMOVAL/INSTALLATION ).
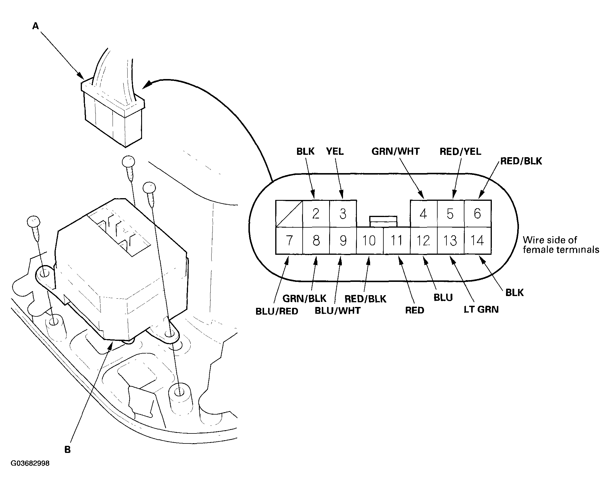
  2. Disconnect the 14P connector (A) from the master switch (B).
    Fig 1: Disconnecting 14P Connector From Master Switch
    G03682998Courtesy of AMERICAN HONDA MOTOR CO., INC.
  3. Inspect the connector and socket terminals to be sure they are all making good contact.
    • If the terminals are bent, loose or corroded, repair them as necessary, and recheck the system.
    • If the terminals look OK, go to step 4.
  4. With the connectors still disconnected, make this input test at the connector.
    • If the test indicates a problem, find and correct the cause, then recheck the system.
    • If the input test proves OK, go to step 5.
    CONNECTOR INPUT TEST REFERENCE

    Cavity Wire Test condition Test: Desired result Possible cause if result is not obtained
    5 RED/YEL Connect the No. 4 and No. 5 terminals, and the No. 6 and No. 14 terminals, then turn the ignition switch ON (II). Check for driver's window motor operation:
    It should run (the driver's window moves down)
    • Faulty driver's window motor
    • An open in the wire
    6 RED/BLK
    7 BLU/RED Connect the No. 8 and No. 9 terminals, and the No. 7 and No. 2 terminals, then turn the ignition switch ON (II). Check for passenger's window motor operation:
    It should run (the passenger's window moves down).
    • Faulty passenger's window motor
    • Faulty passenger's window switch
    • An open in the wire
    9 BLU/WHT
    10 RED/BLK Combination light switch ON Check for voltage to ground: There should be battery voltage.
    • Blown No. 15(10 A) fuse in the under-dash fuse/relay box
    • Faulty combination light switch
    • Faulty taillight relay
    • An open in the wire
    11 RED Combination light switch ON Connect to ground: The dash lights should come on full bright. An open in the wire
  5. Reconnect the connectors to the switch, and make these input tests at the appropriate connectors.
    • If any test indicates a problem, find and correct the cause, then recheck the system.
    • If all the input tests prove OK, the power window master switch must be faulty, replace the switch.
    CONNECTOR INPUT TEST REFERENCE

    Cavity Wire Test condition Test: Desired result Possible cause if result is not obtained
    2 BLK Under all conditions Check for voltage to ground:
    There should be less than 1 V.
    • Poor ground (G401, G402)
    • An open in the wire
    14
    4 GRN/WHT Under all conditions Check for voltage to ground: There should be battery voltage.
    • Blown No. 17 (40 A) fuse in the under-hood fuse/relay box
    • Blown No. 10 (20 A) fuse in the under-dash fuse/relay box
    • An open in the wire
    3 YEL Ignition switch ON (II) Check for voltage to ground: There should be battery voltage.
    • Blown No. 6 (7.5 A) fuse in the under-dash fuse/relay box
    • An open in the wire
    8 GRN/BLK Ignition switch ON (II) Check for voltage to ground: There should be battery voltage.
    • Blown No. 6 (7.5 A) fuse in the under-dash fuse/relay box
    • Blown No. 8 (20 A) fuse in the under-dash fuse/relay box
    • Faulty power window relay
    • An open in the wire
    12 BLU Ignition switch ON (II), and driver's window switch in the AUTO DOWN position Check for voltage between the No. 12 and No. 13 terminals: With an analog voltmeter, there should be 0 to about 3 V to 0 to about 3 V repeatedly. (The ohmmeter needle should move back and forth alternately.) With a digital voltmeter, there should be a steady 1.5-2.0 V.
    • Faulty driver's window motor
    • An open in the wire
    13 LT GRN